AutoCAD Mechanical-Toolset bietet elf Typen von Symbolen, die Sie in eine Zeichnung einfügen können.
Folgende Symbole werden unterstützt:
Die Zeichnungsnorm definiert das Verhalten und die Eigenschaften der einzelnen Symbole. Um die Eigenschaften zu ändern, müssen Sie die Elemente der Norm bearbeiten. Der Zugriff auf Elemente der Norm erfolgt über die Registerkarte AM: Normen im Dialogfeld Optionen.
Zuordnungsverhalten
Während Sie ein Symbol erstellen, können Sie dieses einem Objekt zuordnen. Wenn Sie das Objekt anschließend verschieben, wird auch das zugehörige Symbol verschoben.
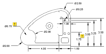
Falls der Zuordnungspunkt ungültig wird, wird das Symbol vom Objekt gelöst. Beispiel:

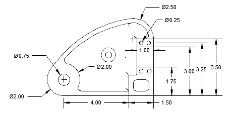
Vor der Aktualisierung

Nach der Aktualisierung
So lange die Beschriftungsüberwachung aktiviert ist, wird die Loslösung von Anmerkungen überwacht. Gelöste Anmerkungen werden durch eine entsprechende Markierung gekennzeichnet. Wenn Sie auf diese Markierung klicken, wird ein Menü mit speziellen Optionen für die jeweilige Anmerkung geöffnet.
Verhalten beim Erstellen von Führungslinien
Wenn Sie ein Symbol einem Bogen oder Spline zuordnen, erzwingt das Symbol für das erste Führungsliniensegment die lotrechte Anordnung zum zugeordneten Objekt. Sie können dieses Verhalten überschreiben, indem Sie die Tastenkombination für Orthogonalen Modus für Symbolführungslinie umschalten (vorgabemäßig UMSCHALT + F) drücken, während Sie das Fadenkreuz verschieben.
Wenn Sie ein Symbol einer Linie zuordnen, wird bei einigen Symbolen eine lotrechte Anordnung des ersten Führungsliniensegments zum zugeordneten Objekt erzwungen. Bei Symbolen, die dieses Verhalten nicht aufweisen, zeigt AutoCAD Mechanical-Toolset, wenn der Modus Objektfangspur aktiviert ist, lotrechte Ausrichtungspfade zur Vereinfachung der lotrechten Anordnung an.
Bearbeitungsverhalten von Griffen bei Startpunkten von Führungslinien
Wenn Sie den Startpunkt einer Führungslinie ziehen, bewegt sich das ganze Symbol.

Sie können dieses Verhalten umgehen, indem Sie die Tastenkombination für Orthogonalen Modus für Symbolführungslinie umschalten (vorgabemäßig UMSCHALT+G) drücken, während Sie das Fadenkreuz verschieben. In diesem Modus wird das Symbol nicht verschoben. Stattdessen wird das erste Führungsliniensegment gestreckt.

Symbolbibliotheken
Mit einigen Symbolen können Sie vollständig konfigurierte Symbole in einer Bibliothek speichern. Sie können diese dann direkt aus der Multifunktionsleiste in eine Zeichnung einfügen, sodass keine Werte angegeben werden müssen, oder Sie können nur die Werte aus dem gespeicherten Symbol angeben.
Bearbeiten von Symbolen
Doppelklicken Sie zur Bearbeitung des Symboltexts eines bereits in eine Zeichnung eingefügten Symbols auf das Symbol. Wenn Sie auf die Führungslinie doppelklicken, wird die Registerkarte Führungslinie des Einstellungsdialogfelds für das Symbol angezeigt.
| Symbol | Erstes Führungsliniensegment lotrecht zum zugeordneten Bogen | Erstes Führungsliniensegment lotrecht zur zugeordneten Linie | Symbolbibliothek | Durch Beschriftungsüberwachung überwacht? | Unterstützung für UMSCHALT+G |
|---|---|---|---|---|---|
|
Bezugssymbol |
Ja | Ja | Ja | ||
|
Bezugsstelle |
Ja | ||||
|
Kante |
Ja | Ja | Ja | Ja | |
|
Form- und Lagetoleranzen |
Ja | Ja | Ja | Ja | Ja |
|
Elementsymbol |
Ja | Ja | Ja | Ja | |
|
Führungslinienkommentar |
Ja | Ja | Ja | Ja | |
|
Verjüngung und Steigung |
Ja | Ja | Ja | ||
|
Oberflächensymbole |
Ja | Ja | Ja | Ja | |
|
Schweißen |
Ja | Ja | Ja | Ja | |
|
Markierung/Stempel |
Ja | Ja | Ja | Ja | |
|
Stumpfnaht |
Ja | Ja | Ja | Ja |