既存のモデル ドキュメント図面ビューを編集します。
リボンがアクティブなときにこのコマンドを使用すると、[図面ビュー エディタ]リボン コンテキスト タブが表示されます。リボンがアクティブでないときは、編集するビューのプロパティをコマンド ラインを使用して変更します。
次のプロンプトが表示されます。
編集する図面ビューを指定します。
リプレゼンテーションの種類を指定して、選択した図面ビューに表示するリプレゼンテーションを選択できるようにします。リプレゼンテーションは、Inventor モデルにのみ対応しています。
選択した図面ビューに表示するデザイン ビュー リプレゼンテーションを選択します。? と入力すると、使用可能なデザイン ビューの一覧が表示されます。
このオプションは、選択した図面ビューがデザイン ビュー リプレゼンテーションを含む Inventor アセンブリ(*.iam)から作成されている場合にのみ使用できます。
選択した図面ビューに表示するポジション リプレゼンテーションを選択します。? と入力すると、使用可能なリプレゼンテーションの一覧が表示されます。
このオプションは、選択した図面ビューがポジション リプレゼンテーションを含む Inventor アセンブリ(*.iam)から作成されている場合にのみ使用できます。
選択した図面ビューに表示する詳細レベル リプレゼンテーションを選択します。? と入力すると、使用可能なリプレゼンテーションの一覧が表示されます。
このオプションは、選択した図面ビューが Inventor アセンブリ(*.iam)から作成されている場合にのみ使用できます。
選択した図面ビューに表示する溶接状態を選択します。
? と入力すると、溶接状態や準備状態のコンポーネントの一覧が表示されます。
アセンブリ状態は、何らかの操作が実行される前の溶接を示します。溶接状態は、溶接が実行された後のアセンブリを示します。機械加工状態は、溶接後の機械加工が行われた後の溶接を示します。準備状態は、明示的に一覧表示されません。しかし、[一覧(?オプションを使用すると、溶接前の準備状態のコンポーネントの名前が一覧表示されます。
溶接リプレゼンテーションは、選択した図面ビューが Inventor 溶接アセンブリ(*.iam)から作成されている場合にのみ使用できます。
選択した図面ビューに表示する iAssembly ファクトリまたは iPart ファクトリのメンバーを選択します。? と入力すると、使用可能なメンバーの一覧が表示されます。
このオプションは、選択した図面ビューが iAssembly ファクトリまたは iPart ファクトリ(*.iam、*.ipt)から作成されている場合にのみ使用できます。
選択した図面ビューに表示するシート メタル ビューを選択します。? と入力すると、使用可能なオプションの一覧が表示されます。
このオプションは、選択した図面ビューが iAssembly ファクトリまたは iPart ファクトリ(*.iam、*.ipt)から作成されている場合にのみ使用できます。
選択した図面ビューに表示するプレゼンテーション ビューを選択します。? と入力すると、使用可能なビューの一覧が表示されます。
このオプションは、選択した図面ビューが Inventor プレゼンテーション ドキュメント(*.ipn)から作成されている場合にのみ使用できます。
ベース ビューに使用する表示スタイルを指定します。

選択した図面ビューに使用する絶対尺度を指定します。尺度を変更するには、ドロップダウン リストから標準尺度を選択するか、非標準の尺度を直接入力します。
既定では、投影ビューおよび断面図ビューはその親の尺度を継承し、詳細ビューは親の尺度よりも一段階大きい尺度になります。
ベース ビューに設定する可視性のオプションを指定します。
干渉エッジの表示/非表示を切り替えます。干渉エッジは、1 つまたは複数のソリッド ボディが互いに交差している場合に発生します。干渉エッジの表示設定がオンの場合、ソリッド ボディが交わる位置に線が描画されます。
接線エッジの表示/非表示を切り替えます。接線エッジは、フィレットされたエッジで最もよく見られる、平坦なサーフェスと丸みのあるエッジ間の遷移をマークします。
シート メタルの曲げ範囲の線の表示/非表示を切り替えます。シート メタルの曲げ範囲の線は、平面展開したシート メタル ビューで、曲げヒンジや折り曲げの移行場所を示します。
このオプションは、定義されている平坦化シート メタル ビューが対応するモデルに存在する場合にのみ使用できます。
ねじやタップ穴のねじ山線の表示/非表示を切り替えます。
プレゼンテーション トレールの表示/非表示を切り替えます。プレゼンテーション トレールは、分解図(プレゼンテーション ファイル)での、コンポーネントが組み付け位置に移動する方向を示す線です。
断面ビューの投影方法が直交の場合に指定します。
断面線の深度を指定します。
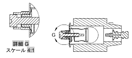
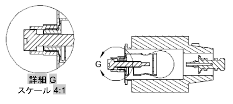
詳細ビューの境界を円形状にするか矩形状にするかを指定します。既定の境界は円形状です。




選択した断面ビューまたは詳細ビューにハッチングが表示されるかどうかを指定します。
コマンドが循環的にオプションを表示する場所かどうかに応じて、直前のプロンプトに戻るか、コマンドを終了します。