Umístění symbolů svarů
panel Symbol
Umístit můžete následující typy symbolů svarů:
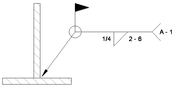
Zadat můžete následující vlastnosti symbolů svarů:
Můžete také upravit různé parametry symbolu svaru výběrem symbolu svaru a potom kliknutím na příslušnou hodnotu modrého textu. Zadejte požadovanou hodnotu do textového pole a stiskněte klávesu Enter.
