梁单元是两节点构件,在 3D(三维)X、Y、Z 空间中具有任意方向。需要另一个节点(K 节点)才能定义单元方向。梁可以传输力矩、扭矩和力,是一种具有六个 (6) 自由度 (DOF) 的通用单元(在构件的每个端点有三个整体平动和转动分量)。
 
图 1:梁单元的 K 节点定义
三维梁单元是具有均匀横截面的三维单元,能够执行通用梁框架问题的大变形和弹性-塑性分析。MES/非线性结构分析中不考虑横截面的形状变化。
在外部,梁具有六个自由度(三个位移和三个转动)。分析输出包括梁的端点力、轴应力和关联的剪切应力。它支持全部三维平动和转动运动。当弯曲、扭转和拉伸行为与大变形和/或材料非线性效应一起出现时,通常使用三维梁单元进行分析。
 
图 2:三维梁单元示例
下表介绍了梁的部件、层和表面属性控制的对象。
| 部件编号 | 单元数据(材料模型、详细输出等等)、无应力参考温度和材料属性。 | 
| 层编号 | 横截面属性(“通用”截面类型除外)。 | 
| 表面编号 | 方向。 | 
大部分梁具有强弯曲轴和弱弯曲轴。由于梁构件表示为一条线,而线是没有固有横截面方向的对象,因此需要一种方法来指定三维空间中强轴或弱轴的方向。此方向由线的表面构件控制。
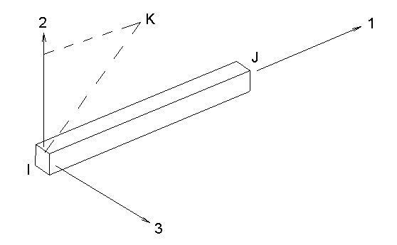
更具体地说,线的表面编号将在空间中创建一个点,即 K 节点。梁单元的两个端点(I 和 J 节点)以及 K 节点形成了一个平面(参见图 3)。梁单元由局部轴 1、2 和 3 定义,其中轴 1 从 I 节点到 J 节点;轴 2 位于 I、J、K 节点形成的平面内;轴 3 遵循右手法则。设定单元轴后,可以在“单元定义”对话框中相应地输入横截面属性 A、Sa2、Sa3、J1、I2、I3、Z2 和 Z3。
 
图 3:轴 2 位于节点 I、J 和 K 形成的平面内
例如,图 4 显示了两个模型的一部分,其中都包含 W10x45 I 形梁。请注意,两个构件具有相同的物理方向。梁腹是平行的。但是,在模型 A 中,分析人员将 K 节点设置在梁单元上方,而在模型 B 中设置在梁单元侧面。即使横截面属性相同,但必须输入不同的轴 2 惯性矩 (I2) 和轴 3 惯性矩 (I3)。
 
图 4:输入适合梁方向的横截面属性
表 1 显示了与不同表面编号对应的 K 节点位置。如果 I、J 和 K 节点形成一个平面,则“首选”位置就是创建 K 节点的位置。如果梁单元与 K 节点共线,则无法形成唯一平面。在这种情况下,单元将使用第二选择的位置。
| 表 1:表面编号与 K 节点(轴 2 方向)的关联 | ||
|---|---|---|
| 表面编号 | K 节点首选的位置 | K 节点第二选择的位置 | 
| 1 | 1E14 在 +Y | 1E14 在 -X | 
| 2 | 1E14 在 +Z | 1E14 在 +Y | 
| 3 | 1E14 在 +X | 1E14 在 +Z | 
| 4 | –Y 方向上的 1E14 | 1E14 在 +X | 
| 5 | –Z 方向上的 1E14 | –Y 方向上的 1E14 | 
| 6 | 1E14 在 -X | –Z 方向上的 1E14 | 
请注意,K 节点的坐标位于与原点相距最远的位置。这样放置有一个很大的好处。请考虑任何实际分析模型的有限尺寸,与到 K 节点位置的距离相比,宽度、长度和高度都变得无关紧要。例如,如果 +Z 方向向上,且将“表面 2”用作 50 米宽结构的楼板梁。因梁偏移 Z 轴 +/- 25m(甚至 50m)造成的梁垂直轴的偏差将无穷小。假设长度单位为毫米。(50,000mm / 1E14mm) 的反正弦值为 0.0000000143°(在实际应用中可以近似为零)。因此,不需要为垂直方向的梁定义多个 K 节点,即使它们将被放置在非常宽的结构中的多个点处。
可以更改表面编号,从而改变了梁的默认方向。选择相应的梁单元(使用“选择” “选择”
“选择” “直线”命令),然后在显示区域中单击鼠标右键。选择“编辑属性”命令,然后更改“表面:”字段中的值。
“直线”命令),然后在显示区域中单击鼠标右键。选择“编辑属性”命令,然后更改“表面:”字段中的值。 
在某些情况下,整体 K 节点位置可能不合适。在这种情况下,请在“FEA 编辑器”环境中使用“选择” “选择”
“选择” “直线”命令选择梁单元,然后在显示区域中单击鼠标右键。选择“梁方向”
“直线”命令选择梁单元,然后在显示区域中单击鼠标右键。选择“梁方向” “新建”命令。键入这些梁的 K 节点的 X、Y 和 Z 坐标。若要选择模型中的特定节点,请单击顶点或在“ID”字段中输入顶点 ID。在指定的坐标处会显示一个蓝色圆。图 5 显示了要将原点定义为 k 节点的梁方向示例。
“新建”命令。键入这些梁的 K 节点的 X、Y 和 Z 坐标。若要选择模型中的特定节点,请单击顶点或在“ID”字段中输入顶点 ID。在指定的坐标处会显示一个蓝色圆。图 5 显示了要将原点定义为 k 节点的梁方向示例。 
 
图 5:倾斜的梁方向
可在“FEA 编辑器”中反转轴 1 的方向,方法是选择要更改的单元(“选择” “选择”
“选择” “直线”)并单击鼠标右键,然后选择“梁方向”
“直线”)并单击鼠标右键,然后选择“梁方向” “转换 I 和 J 节点”。此功能适用于取决于 I 和 J 节点的载荷,且可用于控制轴 3 的方向。(请记住轴 3 是通过轴 1 和轴 2 由右手法则确定)。如果任何选定单元具有取决于 I/J 方向的载荷,则系统将提示用户是否反转载荷。I 和 J 节点交换后,选择“是”可反转载荷输入,从而保持当前的图形显示。I 和 J 节点被转换后,具有载荷 I/J 端点也将被转换。选择“否”将保留原始输入,这样由于 I 节点的位置发生了变化,节点 I 的端部释放便会切换到单元的另一端。
“转换 I 和 J 节点”。此功能适用于取决于 I 和 J 节点的载荷,且可用于控制轴 3 的方向。(请记住轴 3 是通过轴 1 和轴 2 由右手法则确定)。如果任何选定单元具有取决于 I/J 方向的载荷,则系统将提示用户是否反转载荷。I 和 J 节点交换后,选择“是”可反转载荷输入,从而保持当前的图形显示。I 和 J 节点被转换后,具有载荷 I/J 端点也将被转换。选择“否”将保留原始输入,这样由于 I 节点的位置发生了变化,节点 I 的端部释放便会切换到单元的另一端。 
可以在“FEA 编辑器”环境中使用“视图” “可见性”
“可见性” “对象可见性”
“对象可见性” “单元轴”命令显示单元方向。还可以在“结果”环境中使用“结果选项”
“单元轴”命令显示单元方向。还可以在“结果”环境中使用“结果选项” “视图”
“视图” “单元取向”命令查看方向。分别选择使用红色、绿色和蓝色箭头显示“轴 1”、“轴 2”和/或“轴 3”。请参见图 6。
“单元取向”命令查看方向。分别选择使用红色、绿色和蓝色箭头显示“轴 1”、“轴 2”和/或“轴 3”。请参见图 6。 
 
图 6:梁方向符号
各个轴使用的箭头不同。
“单元定义”对话框中有两个选项可用于定义梁单元的属性。如果当前使用的是常用横截面或预安装的梁横截面库中包含的横截面,请在“截面类型”下拉框中选择“预定义”选项,然后在“横截面库”对话框中定义属性。将为部件中的每个层执行此操作。亮显“截面属性”电子表格中的层行,然后单击“横截面库”按钮。
如果当前使用的是不常用的横截面,请在“截面类型”下拉框中选择“通用”选项。“通用”表将用于通过指定多个索引来定义梁单元的横截面。每个索引是横截面的一个条带。索引可以是具有厚度的四边形或圆弧。四边形索引将由两个点定义。这些点将成为四边形端部的中点,如图 7(a) 所示。圆弧索引将由三个点定义,如图 7(b) 所示。点 1 和 3 将成为圆弧的端点,点 2 将成为圆弧上的另一个点。
| 
 (a) 四边形截面。 | 
 (b) 圆弧截面。 | 
| 图 7:条带示例 | |
对于每个条带,请定义每个点的 YY 和 ZZ 坐标以及通过该点的线段宽度。YY 坐标涉及局部轴 2,ZZ 坐标涉及局部轴 3。这两个尺寸均从横截面的重心开始测量。最终形状的重心位于梁单元的轴上。YY 和 ZZ 坐标应对应于条带的中点。
输入数据后,“单元定义”对话框中的“预览”窗口将显示条带。请注意“预览”窗口的以下功能:
横截面为开放状态(如 I 形梁和通道)还是封闭状态(如管道和管)将影响扭转常数 (J1) 的计算。以下标准将决定如何计算扭转常数:
同样,通用横截面可以包含多个子截面。如果是这种情况,则在“截面”列中,每个子截面中的所有索引(电子表格中的行)必须具有相同的编号。如果子截面之间共享任意条带,则必须在“公用”列中指定共享索引的“截面”编号。例如,横截面包含两个子截面,即截面 1 和截面 2。截面 1 上的索引 2 等同于截面 2 上的索引 5。在索引 2 的“公用”列中,必须输入 2。在索引 5 的“公用”列中,必须输入 1。如果一组索引定义了一个封闭的横截面,则应将这些索引放置在唯一的截面中。
图 8(a) 中显示的中空矩形横截面将使用四个矩形截面绘制。为了使软件将该横截面视为封闭的横截面,每个点必须恰好用于 2 个索引。因此,必须使用 8(b) 中显示的四个矩形。实际上,横截面几何体将无法完全匹配实际的横截面。但是,这种差异对分析影响很小。如果定义了如图 8(c) 所示的四个矩形,则将定义一个开放的横截面。与其他横截面值之间的小差异相比,如果使用根据封闭横截面的开放横截面计算得出的扭转常数,则造成的影响将更加明显。横截面应使用通用截面类型进行定义,如表 2 所示。
| 理论结果: A = 64.0 in2 Iyy = 1301.3 in4 Izz = 1061.33 in4 J1 = 1561.3 in4 
 (a) 实际几何体 | 计算得出的结果: A = 64.0 in2 Iyy = 1281.3 in4 Izz = 1050.3 in4 J1 = 1561.3 in4 
 (b) 定义横截面的正确方法。 表 2 包含此项的输入。 | 
| 计算得出的结果: A = 64.0 in2 Iyy = 1301.3 in4 Izz = 1061.3 in4 J1 = 62.2 in4 
 (c) 定义横截面的错误方法。 由于条带之间的点不重合,因此扭转常数计算会出错。 | |
| 图 8:中空矩形横截面 | |
表 2:图 8(b) 中的横截面定义
| 索引 | 截面 | 宽度 (1) | YY(1) | ZZ(1) | 宽度 (2) | YY(2) | ZZ(2) | 公用 | 
|---|---|---|---|---|---|---|---|---|
| 1 | 1 | 1 | -5.5 | -5 | 1 | -5.5 | +5 | 0 | 
| 2 | 1 | 2 | -5.5 | +5 | 2 | +5.5 | +5 | 0 | 
| 3 | 1 | 1 | +5.5 | +5 | 1 | +5.5 | -5 | 0 | 
| 4 | 1 | 2 | +5.5 | -5 | 2 | -5.5 | -5 | 0 | 
图 9 给出了其他四个横截面几何体类型。在所有图中,直线均代表厚度。
|   |   |   |   | 
| (a) | (b) | (c) | (d) | 
| 图 9:其他横截面几何体类型 | |||
横截面 (a) 将需要三个截面,一个截面对应一个矩形。左侧的矩形需要使用五个索引进行绘制。必须将右侧的垂直线分割成两个索引,以便将其定义为其他两个截面的公用索引。由于公用索引必须在两个截面中均进行定义,因此该横截面共需要十三个索引。横截面 (b) 将需要两个截面。每个矩形必须通过两个截面中定义为公用索引的中心部分进行定义。此横截面将需要八个索引。横截面 (c) 将需要三个截面。由于两个矩形管截面是封闭截面,因此必须单独对其进行定义。不会将任何索引定义为这些截面之间的公用索引。此横截面将需要九个索引(不需要分割两个矩形的侧面(水平部分连接位置))。横截面 (d) 仅需要一个截面。此横截面需要三个索引。
“导入”按钮可用于从 csv 文件导入横截面数据。csv 文件必须包含 11 个数据列。这些列中的值必须与“截面的坐标和尺寸”表中的列标签从左到右(从“截面”列开始)一一对应。不包含对应“索引”列的列。
若要使用横截面库,则必须在“截面类型”下拉框中选择“预定义”选项。在“截面属性”电子表格中选择要定义属性的层,然后按“横截面库”按钮。
若要使用横截面库,请先选择要定义横截面属性的层。选择层后,请单击“横截面库”按钮。
如何从现有库选择横截面:
用户无法修改预安装的库。但是,可以创建自定义库并向库中添加用户定义的横截面。还可以将在某台计算机中创建的库复制到新计算机中,并将该库添加到程序中。有关创建自定义库和横截面的步骤,请参见页面创建自定义横截面库和形状条目。
“横截面库”对话框的右上角有一个下拉菜单,其中包含可指定尺寸的常用横截面列表。包含的形状有:
请为所有这些形状输入合适的尺寸。在选择某个形状后,将显示草图和数据输入字段。
使用梁单元时,必须在“材料模型”下拉框中指定此部件的材料模型。
如果将“材料模型”设置为“von mises 双线性等向强化”,则使用“应力更新方法”。在材料趋于塑性时,此选项可控制用于求本构方程积分的数值算法(应力/应变定律)。适用于“应力更新方法”的选项如下:
 “模型设置”
“模型设置” “参数”
“参数” “高级”
“高级” “平衡”选项卡下设置)为“采用线性搜索的组合牛顿法”,具体取决于模型中的其他特征(可能指示其他设置)。
“平衡”选项卡下设置)为“采用线性搜索的组合牛顿法”,具体取决于模型中的其他特征(可能指示其他设置)。  “模型设置”
“模型设置” “参数”
“参数” “高级”
“高级” “平衡”选项卡下设置)为“采用线性搜索的完全牛顿法 1”,具体取决于模型中的其他特征(可能指示其他设置)。
“平衡”选项卡下设置)为“采用线性搜索的完全牛顿法 1”,具体取决于模型中的其他特征(可能指示其他设置)。 如果将“应力更新方法”设置为“广义中点”,则使用“广义中点参数”输入。此输入的可接受范围是 0 到 1(含)。如果将“参数”设置为等于 0,则生成的算法将是算法系列的全部显式成员(类似于“应力更新方法”的“显式”选项);但是,解并非无条件稳定。如果“参数”为 0.5 或更大,则该方法无条件稳定。如果将“参数”设置为 0.5,则求解称为中点算法;如果设置为 1,则求解称为完全 Backward Euler 或最近点算法,并采用全隐格式。值 1 比其他值更精确,对于较大的时间步尤其如此。
使用“分析类型”下拉菜单,可设置预期的位移类型。“小位移”适用于未发生运动且应变较小的部件,并将忽略因大变形而产生的非线性几何效应。(它还会将“高级”选项卡上的“分析公式”设置为“仅材料非线性”。)“大位移”适用于发生运动和/或大应变的部件。(还应根据分析需要设置“高级”选项卡上的“分析公式”。)
 
  “选项”
 “选项” “分析”选项卡并设置“使用大位移作为非线性分析默认值”选项,以控制“分析类型”是默认为小位移还是大位移。
“分析”选项卡并设置“使用大位移作为非线性分析默认值”选项,以控制“分析类型”是默认为小位移还是大位移。 如果要使用“温度相关各向同性”或“温度相关塑性”材料模型,则必须在“热”选项卡的“无应力参考温度”字段中指定值。热应力将通过节点温度与此值之间的差值创建。
在“高级”选项卡的“分析公式”下拉框中,选择要用于梁单元的公式方法。
接下来,在“第一积分阶”、“第二积分阶”和“第三积分阶”下拉框中为每个梁单元轴选择积分阶次。“第一积分阶”下拉框中的选项将用于主轴(轴 1,沿单元长度)的高斯求积公式。“第二积分阶”下拉框中的选项将用于副轴(轴 2)的高斯求积公式。“第三积分阶”下拉框中的选项将用于第三轴(轴 3)的高斯求积公式。积分阶次越高,准确性越高,但会延长分析时间。
大刚体转动:如果在分析的任何时间段内有单元部件发生大刚体转动,则激活“大刚体转动”选项。激活后,转动矩阵将存储在每个迭代处,但可产生更精确的应力结果。如果未激活此选项且部件发生刚体转动,则应力可能增加而不是保持不变,从而降低准确程度。如果部件中的梁单元发生大变形,则不管是否转动,都不需要激活此选项(但请参见下面的提示)。
与非线性、大变形或大运动分析一样,分析中包含的时间步越多,结果越精确。在某些情况下,可能需要设置捕获速率,使得梁部件每转动 90 度出现 100 个时间步,或大约每转动一度出现 1 个时间步。
其他输出:可以创建四种类型的梁单元结果输出。下面将指明其他输出是采用文本格式(可使用记事本、Word 或任意文本编辑器读取)还是二进制格式(可通过“结果”环境读取)。下页将介绍文本输出文件的格式(梁单元文本结果)。
 “应变”
“应变” “梁和桁架”菜单在“结果”环境中显示的梁应力基于分别除以梁横截面面积和截面模量计算得出的力和力矩。因此,这些结果不会将屈服考虑在内。通过激活“详细应力输出”或“二进制应力和应变输出”选项,处理器将输出计算得出的应力 - 考虑所有非线性效应。“结果”环境可以显示正确的应力和应变,方法是使用“查询结果”
“梁和桁架”菜单在“结果”环境中显示的梁应力基于分别除以梁横截面面积和截面模量计算得出的力和力矩。因此,这些结果不会将屈服考虑在内。通过激活“详细应力输出”或“二进制应力和应变输出”选项,处理器将输出计算得出的应力 - 考虑所有非线性效应。“结果”环境可以显示正确的应力和应变,方法是使用“查询结果” “查询”
“查询” “梁应力详情”或“查询结果”
“梁应力详情”或“查询结果” “查询”
“查询” “梁应变详情”菜单(如果最后一个选项处于激活状态)。
“梁应变详情”菜单(如果最后一个选项处于激活状态)。 (请参见上面的“指定梁单元的横截面属性”主题。)