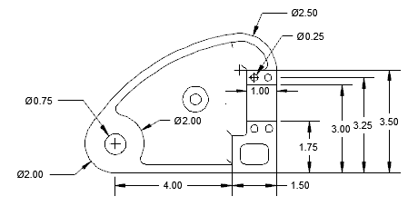
AutoCAD Mechanical proporciona once tipos de símbolos que se pueden insertar en un dibujo.
Los símbolos admitidos son:
La norma de dibujo define el comportamiento y las características de cada símbolo. Para cambiar las características, edite los elementos de la norma. Puede acceder a los elementos de la norma en la ficha AM:Normas del cuadro de diálogo Opciones.
Comportamiento de enlace
Durante la creación de un símbolo, se puede enlazar a un objeto. A partir de ese momento, al desplazar, el objeto el símbolo se desplaza con éste.
Los símbolos se pueden desenlazar de un objeto cuando el punto de enlace deja de ser válido. Por ejemplo:

Antes de un evento de actualización

Después de un evento de actualización
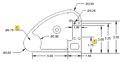
Si el supervisor de anotación está activado, se realiza un seguimiento de las anotaciones desenlazadas, y estas se resaltan con un distintivo. Al hacer clic en el distintivo, se abre un menú que contiene las opciones específicas de la anotación.
Comportamiento de la creación de directrices
Si enlaza un símbolo a un arco o una spline, el símbolo fuerza que el primer segmento de la directriz sea perpendicular al objeto enlazado. Puede modificar este comportamiento pulsando la tecla Act/Des modo ortogonal de directriz de símbolo (Mayús + F, por defecto) a medida que desplaza el cursor en cruz.
Si enlaza un símbolo a una línea, algunos símbolos fuerzan que el primer segmento de la directriz sea perpendicular al objeto enlazado. En el caso de los símbolos que no muestren este comportamiento, si se activa el rastreo de referencia a objetos, AutoCAD Mechanical muestra las rutas de alineación perpendiculares para realizar un seguimiento de dichos símbolos.
Comportamiento de edición de pinzamientos del punto inicial de las directrices
Si se arrastra el punto de inicio de una directriz, se desplaza el símbolo entero.

Puede modificar este comportamiento pulsando la tecla Act/Des el modo Estirar de la directriz del símbolo (Mayús + G, por defecto) a medida que desplaza el cursor en cruz. En este modo el símbolo no se mueve. En su lugar, el segmento de la primera directriz se estirará.

Bibliotecas de símbolos
Algunos símbolos permiten guardar de forma completa los símbolos configurados en una biblioteca. A continuación, puede insertarlos directamente en un dibujo desde la cinta de opciones, con lo que se elimina la necesidad de precisar valores, o bien precisar solo los valores que provienen del símbolo guardado.
Edición de símbolos
Para editar el texto de un símbolo que ya está insertado en un dibujo, haga doble clic en el símbolo. Al hacer doble clic en la directriz, se muestra la ficha Directriz del cuadro de diálogo de parámetros del símbolo.
| Símbolo | Primer segmento de la directriz perpendicular al arco enlazado | Primer segmento de la directriz perpendicular a la línea enlazada | Biblioteca de símbolos | ¿Se realiza un seguimiento con el supervisor de anotación? | Compatibilidad con Mayús + G |
|---|---|---|---|---|---|
|
Indicación de referencia |
Sí | Sí | Sí | ||
|
Referencia parcial |
Sí | ||||
|
Arista |
Sí | Sí | Sí | Sí | |
|
Rectángulo de tolerancia |
Sí | Sí | Sí | Sí | Sí |
|
Indicación de operación |
Sí | Sí | Sí | Sí | |
|
Nota descriptiva |
Sí | Sí | Sí | Sí | |
|
Ángulo e inclinación |
Sí | Sí | Sí | ||
|
Acabado superficial |
Sí | Sí | Sí | Sí | |
|
Soldadura |
Sí | Sí | Sí | Sí | |
|
Marcado/Sellado |
Sí | Sí | Sí | Sí | |
|
Unión fija |
Sí | Sí | Sí | Sí |