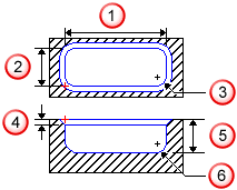
Utilisez la feature de poche rectangulaire pour créer une poche rectangulaire.

— Longueur
— Largeur
— Rayon de coin
— Chanfrein
— Profondeur
— Rayon de fond
Pour ce faire, entrez le diamètre de poche dans les champs de longueur et de largeur, puis entrez le rayon de poche dans le champ de rayon de coin.