Rozdělení prefabrikovaných dvojitých stěn

Zjistěte, jak rozdělit prefabrikované dvojité stěny a ručně upravit jejich segmentaci.

Během příkazu Rozdělit se segmentace provede podle parametrů určených v dialogu Konfigurace. Segmentace závisí na hmotnosti a zohledňuje hustotu všech hladin (včetně vzduchu).

Segmentaci můžete ručně změnit později. Při tom postupujte takto:

  1. Vyberte jednu součást.
  2. Klikněte na možnost Upravit | karta Součásti panel Součást (Upravit dělení).

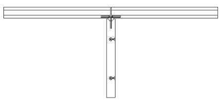
Dělicí přímka řídí pozici spoje pro všechny tři hladiny.

Segmentaci je možné vytvořit také ručně. Při tom postupujte takto:
  1. Vyberte výslednou část dvojité stěny.
  2. Klikněte na možnost Upravit | karta Součásti panel Součást (Rozdělit součásti).
  3. Zde můžete určit buď jednu dělicí čáru pro všechny tři hladiny, nebo čáry pro každou hladinu zvlášť.

Po ručním rozdělení stěny můžete z výběru příkazem Rozdělit vytvořit sestavy prefabrikovaných dvojitých stěn.

U rohových spojení se pozice a priorita hladin určuje příkazem Spoje stěn. Můžete mít čtvercová spojení i spojení rohů pokosů.

U stěn, které jsou spojeny pod úhlem 90 stupňů, ale ne v rozích, vytvoří příkaz Rozdělit T-spojení. Pokud v určitém průsečíku spojení T nechcete, příkazem Nepovolit spoj můžete přiléhající stěnu upravit ze strany plochy hlavního prvku.

Výsledek segmentace
Spojené dvojité stěny
Odpojené dvojité stěny
Spojená dvojitá stěna a plná stěna
Odpojená dvojitá stěna a plná stěna
V případě potřeby můžete ručně upravit plochy součástí pomocí možnosti součástí Zobrazit uzly tvarů.


Poznámka: Podle situace můžete také provést úpravy podél výšky prvku, například pokud existují filigránové desky, které podepírají dvojité stěny.