在本活动中,您将完成以下任务:
创建形位公差符号。
形位公差符号是分为两个或更多部分的矩形框。
从“符号”工具栏中,选择“形位公差符号”。

“形位公差符号”命令位于“符号”下拉列表下。
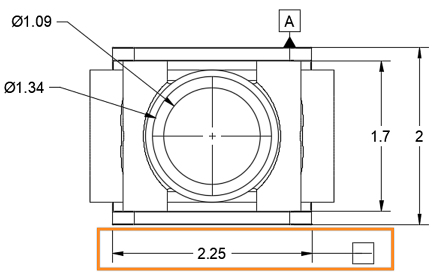
在前视图上,选择 2.25 尺寸。
将光标拖动到右侧,然后单击以放置形位公差符号。

将放置形位公差符号。
按 Enter 键以显示“形位公差符号”对话框。
在“形位公差符号”对话框中:

“形位公差符号”对话框。
单击“确定”。

完成的形位公差符号。
在形位公差符号底部添加基准标识符。
基准标识符号(基准 ID)用于标识形位公差符号的基准特征。
从“符号”工具栏中,选择“基准标识符号”。

“基准标识符号”命令位于“符号”下拉列表下。
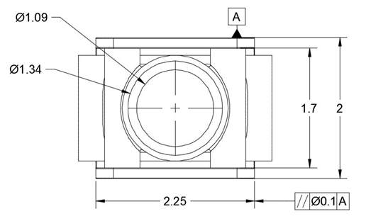
在“前视图”上,选择形位公差符号。
向下拖动光标并单击以放置基准标识符号,同时打开“基准标识符号”对话框。
在“基准标识符号”对话框中,在“标识符号”字段中键入值“B”。

“基准标识符号”对话框。
单击“确定”完成该命令。

完成的基准标识符号。
在本活动中,您完成了以下任务: