Bei dieser Aktivität führen Sie folgende Aufgaben aus:
Erstellen einer Form- und Lagetoleranz
Die Form- und Lagetoleranzen sind ein rechteckiger Rahmen, der in zwei oder mehr Bereiche aufgeteilt ist.
Wählen Sie im Werkzeugkasten Symbole die Option Form- und Lagetoleranzen aus.

Der Befehl Form- und Lagetoleranzen befindet sich in der Dropdown-Liste Symbole.
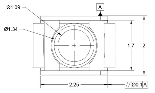
Wählen Sie in der Vorderansicht die Bemaßung 2.25 aus.
Ziehen Sie den Cursor nach rechts, und klicken Sie, um die Form- und Lagetoleranzen zu platzieren.

Die Form- und Lagetoleranzen werden platziert.
Drücken Sie die Enter, um das Dialogfeld Form- und Lagetoleranzen zu öffnen.
Gehen Sie im Dialogfeld Form- und Lagetoleranzen folgendermaßen vor:

Dialogfeld Form- und Lagetoleranzen
Klicken Sie auf OK.

Fertige Form- und Lagetoleranzen
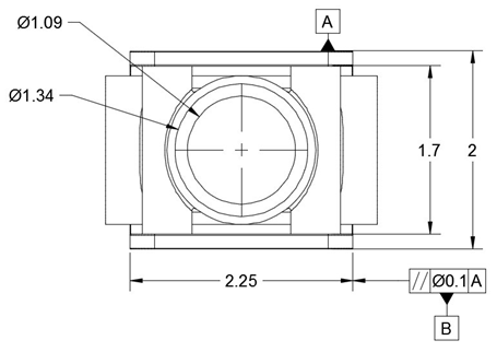
Fügen Sie an der Unterseite der Form- und Lagetoleranzen ein Bezugssymbol hinzu.
Ein Bezugssymbol definiert einen Bezug für ein Form- und Lagetoleranzsymbol.
Wählen Sie im Werkzeugkasten Symbole die Option Bezugssymbol aus.

Der Befehl Bezugssymbol befindet sich in der Dropdown-Liste Symbole.
Wählen Sie in der Vorderansicht die Form- und Lagetoleranzen aus.
Ziehen Sie den Cursor nach unten, und klicken Sie, um das Bezugssymbol zu platzieren. Das Dialogfeld Bezugssymbol wird geöffnet.
Geben Sie im Dialogfeld Bezugssymbol den Wert B in das Feld Kennung ein.

Dialogfeld Bezugssymbol
Klicken Sie auf OK, um den Befehl zu beenden.

Fertiges Bezugssymbol
Bei dieser Aktivität haben Sie folgende Aufgaben ausgeführt: