Bei dieser Aktivität führen Sie folgende Aufgaben aus:
Erstellen einer linearen Bemaßung
Klicken Sie auf Bemaßungen > Lineare Bemaßung.

Der Befehl Lineare Bemaßung befindet sich in der Dropdown-Liste Bemaßung.
Verwenden Sie den Objektfang, und klicken Sie auf zwei Endpunkte in der Ansicht von unten (wie in der Bildsequenz unten gezeigt). Eine Vorschau wird an der Cursorposition angezeigt.

Objektfang.
Ziehen Sie den Cursor nach rechts, und klicken Sie erneut, um die Bemaßung zu platzieren.

Platzierte Bemaßung
Der Befehl bleibt aktiv, sodass Sie weitere Bemaßungen erstellen können. Drücken Sie Esc, um den Befehl Lineare Bemaßung zu beenden.
Erstellen einer ausgerichteten Bemaßung
Klicken Sie auf Bemaßungen > Ausgerichtete Bemaßung.

Der Befehl Ausgerichtete Bemaßung befindet sich in der Dropdown-Liste Bemaßung.
Verwenden Sie den Objektfang, und klicken Sie auf die obere Kante und den unteren Punkt der Klinge in der Ansicht von rechts (wie in der folgenden Abbildung gezeigt).
Ziehen Sie den Cursor auf die linke Seite, um sich die Vorschau der Bemaßung anzusehen.
Klicken Sie erneut, um die Bemaßung zu platzieren.

Platzierte Bemaßung
Der Befehl bleibt aktiv, sodass Sie weitere Bemaßungen erstellen können. Drücken Sie Esc, um den Befehl Ausgerichtete Bemaßung zu beenden.
Neupositionieren der Bemaßung
Klicken Sie auf die ausgerichtete Bemaßung.
Klicken Sie auf den grauen Griff auf dem Text.
Verschieben Sie den Text so, damit er zwischen den Pfeilen liegt.

Neupositionieren der Bemaßung
Klicken Sie auf eine beliebige Stelle außerhalb der Bemaßung, um den Vorgang abzuschließen.
Erstellen einer Durchmesserbemaßung
Klicken Sie auf Bemaßungen > Durchmesserbemaßung.
Wählen Sie den Klingenschieber-Pin in der Detailansicht aus.
Ziehen Sie den Cursor nach oben und nach rechts, um eine Vorschau der Bemaßung anzusehen.

Durchmesserbemaßung.
Klicken Sie erneut, um die Bemaßung zu platzieren.
Der Befehl bleibt aktiv, sodass Sie weitere Bemaßungen erstellen können. Drücken Sie Esc, um den Befehl Durchmesserbemaßung zu beenden.
Das Werkzeug Basislinienbemaßung erstellt mehrere lineare Bemaßungen, die von derselben Position gemessen werden. Das Werkzeug Kettenbemaßung erstellt mehrere lineare Bemaßungen, die jeweils am Endpunkt der vorangegangenen Bemaßung beginnen.
Basislinien- und Kettenbemaßungen werden aus einer ursprünglichen Bemaßung abgeleitet. Basislinien- und Kettenbemaßungen können nur erstellt werden, wenn bereits eine lineare Bemaßung vorhanden ist.
Erstellen einer neuen linearen Bemaßung
Löschen Sie die lineare Bemaßung in der Ansicht von unten, indem Sie die Bemaßung auswählen und die ENTF-Taste drücken, oder indem Sie im Minimenü Löschen auswählen.
Erstellen Sie eine neue lineare Bemaßung am Ende des Schafts für die Klinge.

Neue lineare Bemaßung
Platzieren von Kettenbemaßungen
Klicken Sie auf Bemaßungen > Kettenbemaßung

Der Befehl Kettenbemaßung befindet sich in der Dropdown-Liste Bemaßung.
Wählen Sie die untere Hilfslinie der soeben platzierten Bemaßung aus.

Kettenbemaßung
Fertigstellen der Kettenbemaßung
Klicken Sie auf das Ende des Messergriffs, um den Endpunkt der ersten Bemaßung festzulegen.

Kettenbemaßung
Klicken Sie erneut, um einen weiteren Endpunkt einer Bemaßung festzulegen.
Klicken Sie ein weiteres Mal auf das äußerste Ende in der Ansicht von unten.

Kettenbemaßung
Um den Vorgang abzuschließen, drücken Sie die Enter.
Basislinienbemaßungen funktionieren auf die gleiche Weise wie Kettenbemaßungen, sie erstellen jedoch mehrere Bemaßungen, die alle an derselben Position beginnen. Wenn Sie hier die Basislinienbemaßung verwendet hätten, würde dies wie folgt aussehen:

Basislinienbemaßung
Bearbeiten der Eigenschaften der Bemaßung
Doppelklicken Sie auf die Bemaßung auf dem hinteren Griff der Ansicht von unten. Das Dialogfeld Bemaßung wird angezeigt.

Dialogfeld Bemaßung
Wählen Sie im Feld Primäre Genauigkeit den Wert 0.123 aus der Dropdown-Liste aus.
Aktivieren Sie die Option Alternative Einheiten, um eine Bemaßung für ein zusätzliches Einheitensystem anzuzeigen.

Dialogfeld Bemaßung
Hinzufügen einer Toleranz zur Bemaßung
Wählen Sie im Abschnitt Toleranz des Dialogfelds in der Dropdown-Liste Typ die Option Grenzwert.
Stellen Sie sicher, dass Obere Toleranz und Untere Toleranz auf 0.010 festgelegt sind.

Dialogfeld Bemaßung
Klicken Sie auf Schließen.
Erstellen einer Referenzbemaßung
Erstellen Sie eine neue lineare Bemaßung in der Ansicht von rechts, indem Sie die Ecke des Schafts für die Klinge und den Fangpunkt Quadrant am Ende des Griffs als Fangpunkte verwenden.

Referenzbemaßung
Drücken Sie Esc, um den Befehl Lineare Bemaßung zu beenden.
Doppelklicken Sie auf die Bemaßung, die Sie gerade erstellt haben. Das Dialogfeld BEMASSUNG wird geöffnet.
Erweitern Sie im Dialogfeld den Abschnitt Darstellung.
Wählen Sie unter Darstellung die Referenzbemaßung aus.

Dialogfeld Bemaßung
Klicken Sie auf Schließen.
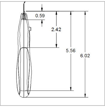
An diesem Punkt sollte Ihre Zeichnung so ähnlich wie die folgende Abbildung aussehen:

Endgültiges Aussehen der Zeichnung nach Abschluss von Aktivität 4
Bei dieser Aktivität haben Sie folgende Aufgaben ausgeführt: