In questa attività si apprenderà come effettuare le operazioni seguenti:
Creare un riquadro di controllo della geometria.
Un riquadro di controllo della geometria è un riquadro rettangolare diviso in due o più sezioni.
Dalla barra degli strumenti Simboli, selezionare Riquadro di controllo della geometria.

Il comando Riquadro di controllo della geometria si trova sotto l'elenco a discesa Simboli.
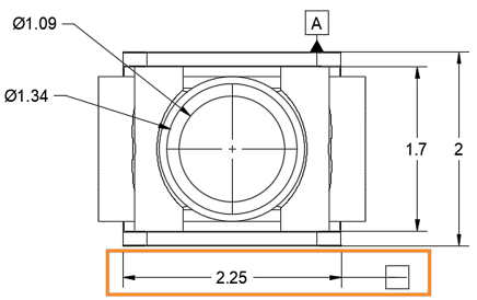
Nella vista anteriore, selezionare la quota 2.25.
Trascinare il cursore verso destra e fare clic per posizionare il riquadro di controllo della geometria.

Viene posizionato il riquadro di controllo della geometria.
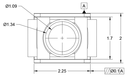
Premere Enter per visualizzare la finestra di dialogo Riquadro di controllo della geometria.
Nella finestra di dialogo Riquadro di controllo della geometria:

La finestra di dialogo Riquadro di controllo della geometria.
Fare clic su OK.

Il riquadro di controllo della geometria terminato.
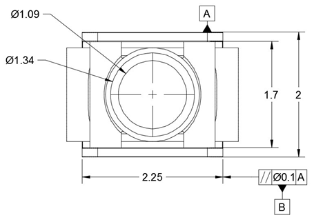
Aggiungere un identificatore del riferimento nella parte inferiore del riquadro di controllo della geometria.
Un identificatore del riferimento (ID di riferimento) identifica un elemento di riferimento per un simbolo del riquadro di controllo della geometria.
Dalla barra degli strumenti Simboli, selezionare Identificatore riferimento.

Il comando Identificatore riferimento si trova nell'elenco a discesa Simboli.
Nella vista frontale, selezionare il riquadro di controllo della geometria.
Trascinare il cursore verso il basso e fare clic per posizionare l'identificatore riferimento e aprire la finestra di dialogo corrispondente.
Nella finestra di dialogo Identificatore riferimento, digitare il valore B nel campo Identificatore.

La finestra di dialogo Identificatore riferimento.
Fare clic su OK per completare il comando.

Identificatore riferimento terminato.
In questa attività si è appreso come effettuare le operazioni seguenti: