凸型フィーチャーを作成

フィーチャー加工 パネルの 凸型フィーチャー オプションを使用して、ベクトル テキストなどから凸型(オス)のフィーチャーを作成し、フィーチャー加工 ツールパスでカットします。通常、このツールパスは レリーフ加工 ツールパスとあわせて用いられます。

フィーチャー加工 パネルを使用して、次のような内容を設定します。

次の方法で、凸型フィーチャーを作成します。

  1. 凸型フィーチャーを作成するためのベクトルを選択します。
  2. 3D ツールパス セクションの フィーチャー加工ツールパスを作成 をクリックして、フィーチャー加工 パネルを表示します。
  3. 凸型フィーチャー を選択します。
  4. フィーチャー高さ に、凸型フィーチャーの高さを入力します。
  5. 選択したベクトルを、工具でどのように加工するかを選択します。
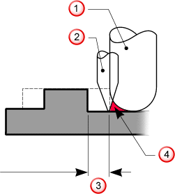
    • ベクトルの位置-トップ エッジ - 加工中、フィーチャー加工の工具 は、選択したベクトルのトップ エッジと接触します。

      フィーチャー加工の工具

      フィーチャー加工の工具では加工されない材料

      このオプションが選択されている場合、鋭角コーナーの加工方法を指定することができます。

      トップで鋭角化 - (角度付きの工具を使用していると想定して)鋭角の内側コーナーを、フィーチャーのトップで鋭角化します。

      ボトムで鋭角化 - (角度付きの工具を使用していると想定して)鋭角の外側コーナーを延長し、フィーチャーのボトムで鋭角化します。

    • ベクトルの位置-ボトム エッジ - 加工中、フィーチャー加工の工具 は、選択したベクトルのボトム エッジと接触します。

      フィーチャー加工の工具

      フィーチャー加工の工具では加工されない材料

  6. 選択したベクトルの周りに材料を残しておく場合、また、選択したベクトルから余分に材料を除去する場合、フィーチャーの仕上げ代 に値を入力します。これにより、選択したベクトルの境界と、工具の間の距離を設定します。材料を残しておく場合は正の値、材料を余分に除去する場合は負の値を入力します。

  7. 選択したベクトルの中央にあるキャビティ部分を除去する場合、島残ししない を選択します。このオプションを選択すると、凸型フィーチャーを加工するための工具は、指定した フィーチャーの仕上げ代オーバーカット距離 を無視します。

    島残ししない を選択しなかった場合、工具は、フィーチャーの仕上げ代オーバーカット距離 の範囲内で、キャビティ部分を加工します。

  8. 加工のリミットを設定します。
    • 選択したベクトルの境界の周りに仕上げ代を残す場合(ベクトルの中央にキャビティがある場合、その部分も含む)、ベクトルから一定の仕上げ代 を選択します。
    • 選択したベクトルの境界の周りを加工する場合、指定領域内 を選択します。選択したベクトルの中央にキャビティがある場合、このオプションの使用によりキャビティが除去されることはありません。フィーチャーの仕上げ代 は指定することができません。
  9. 加工方法を選択します。
    • 輪郭のみ - 選択したフィーチャーの周りに輪郭パスを作成します。
    • 領域加工 - 選択したフィーチャーの境界に基づいて領域加工し、その後、フィーチャーの周りに輪郭パスを作成します。
      注: 領域加工 では、選択したフィーチャーは加工しきれません。加工中、選択したフィーチャーの周りに保護領域が作成されます。

      領域加工 を選択した場合、オーバーカット に値を入力して、フィーチャーの周りに残ったリッジを削除します。

      加工方法に 領域加工、工具に ボール エンド ミル を指定した場合、次のように不要なリッジが残る場合があります。

      ボール エンド ミル

      彫刻加工工具

      フィーチャーの仕上げ代

      オーバーカットによる除去が必要な材料

      注: オーバーカット距離 は、通常、領域加工 に使用する フィーチャー加工の工具 の半径と等しい値でなければなりません。
  10. 仕上げ代 に、加工されたベクトルからのオフセットを入力します。
  11. 指定の加工方法を、Z 方向の複数のパスで実行する場合、Z マルチパス を選択します。
    1. スライス数 に、Z パスの回数を入力します。
    2. 等間隔 をクリックします。 これにより、フィーチャーの Z パスを均等に配置します。
    3. 追加 をクリックして、新規スライスを追加します。
    4. Z マルチパス セクションのリストから値を選択して 削除 をクリックし、その値を削除することができます。
  12. 指定の深さに、工具がどのように到達するかを選択します。
    • ドロップArtCAM は、工具のジオメトリと、加工したレリーフとの間に干渉がないかどうかをチェックします。これにより、ガウジを防ぎます。
    • 投影ArtCAM は工具のジオメトリを無視して、工具の中心線をレリーフに投影します。
  13. 加工方向 を選択します。
    • ダウンカット - 工具は、送りと同じ方向に回転します。このオプションは、デフォルトで選択されています。
    • アップカット - 工具は、送りと逆の方向に回転します。
    注: オプション パネルで、デフォルトの加工方向を設定することができます。
  14. トレランス に値を入力して、工具と、選択したフィーチャーとの間の偏差の精度を制御します。
  15. ツールパスのセグメントから次のセグメントへの工具の早送り高さと、工具のホーム ポジションを変更する場合、安全回避高さ をクリックして、セクションを展開します。
    • 回避高さ - ツールパスのセグメントから次のセグメントへの工具の早送り高さを入力します。材料ブロックやシートを固定しているクランプを避けて移動するのに十分な値でなければなりません。
    • ホーム (X)ホーム (Y)ホーム (Z) - 工具の開始と終了時点での XYZ 座標を入力します。材料ブロックやシートから、回避高さの値だけ離れた距離になります。
  16. フィーチャー加工の工具 セクションの 選択 をクリックして 工具データベース ダイアログから工具を選択します。
  17. 材料 セクションの 設定 をクリックして、材料ブロックのサイズを定義します。
  18. ツールパス セクションに、ツールパスの 名前 を入力します。空白のままにした場合、作成しているツールパスのタイプが名前として用いられます。例えば、名前を入力せずに 3 つの フィーチャー加工 ツールパスを作成した場合、ツールパスの名前は フィーチャー加工フィーチャー加工 1フィーチャー加工 2 となります。
  19. フィーチャー加工 ツールパスを作成するためのベクトルが選択されていることを確認します。
    • ツールパスを単独で、または、他のツールパスとあわせて(一括生成ツールパスとして)後から算出する場合、後で生成 をクリックします。プロジェクト ツリーの ツールパス 以下に、ツールパスが追加されます。ツールパスは赤字で、この時点では生成されていないことを示します。
    • ツールパスを算出する場合、生成 をクリックします。ステータス バー 領域の進行状況バーが、処理の経過を示します、プロジェクト ツリーの ツールパス 以下に、ツールパスが追加されます。ツールパスは白字で、既に生成済みであることを示します。

      3D ビューに、生成されたツールパスがワイヤーフレームで表示されます。

    • 注: ツールパスの設定は、生成する前でも、生成した後からでも編集することができます。

ツールパスを生成すると、そのツールパスのシミュレーションができるようになります。

注: ユーザーのライセンスによっては、この機能が利用できないこともあります。

関連トピック