Criando uma figura positiva

Utilize a opção Figura Positiva no painel Usinagem de Figuras para criar uma figura positiva (macho) a partir de um vetor selecionado, geralmente vetor de texto, que pode ser usinado utilizando o percurso de Usinagem de Figuras. Esse percurso é geralmente utilizado em conjunto com o percurso Usinar Relevo.

Utilizando o painel Usinagem de Figuras, você pode:

Para criar uma figura positiva:

  1. Selecione o vetor a partir do qual você deseja criar uma figura positiva.
  2. Na área Percursos 3D, clique em Criar Percurso de Usinagem de Figura para exibir o painel Usinagem de Figura.
  3. Selecione Figura Positiva.
  4. Na caixa Altura da Figura, insira a altura da figura positiva que você deseja criar.
  5. Selecione como a ferramenta usina o vetor selecionado:
    • Vetor na Aresta Superior — Essa opção coloca a Ferramenta de Figura selecionada em contato com a aresta superior do vetor selecionado durante o processo de usinagem.

      Ferramenta de figura.

      Esse material não é cortado pela ferramenta de figura.

      Se essa opção estiver selecionada, você pode escolher como deseja usinar cantos vivos.

      Afiar no Topo — Quando selecionado, cantos vivos internos são afiados no topo da figura, contanto que uma ferramenta inclinada seja utilizada.

      Afiar na Base — Quando selecionado, cantos vivos externos são estendidos e afiados na base da figura, contanto que uma ferramenta inclinada seja utilizada.

    • Vetor na Aresta Inferior — Essa opção coloca a Ferramenta de Figura selecionada em contato com a aresta inferior do vetor selecionado durante o processo de usinagem.

      Ferramenta de figura

      Esse material é cortado pela ferramenta de figura.

  6. Na caixa Sobremetal de Figura, insira um valor caso deseje manter ou remover material extra em torno do vetor selecionado. Isso define a distância entre a fronteira do vetor selecionado e a ferramenta de figura selecionada. Insira um valor positivo para manter material, ou um valor negativo para remover.

  7. Caso o vetor selecionado apresente uma cavidade central que você deseje remover com a sua ferramenta de figura selecionada, clique para selecionar a opção Limpar ilhas internas. Se você selecionar essa opção, qualquer Sobremetal de Figura já criado e Distância de Corte especificada são ignorados pela ferramenta de figura utilizada para usinar a figura positiva.

    Se Limpar ilhas internas não estiver selecionado, a ferramenta de figura somente pode remover material dentro de uma cavidade central pelo valor permitido por Sobremetal de Figura e Distância de Corte.

  8. Configure as limitações para usinagem:
    • Caso deseje deixar um sobremetal em torno da fronteira do vetor selecionado, incluindo qualquer cavidade central presente, selecione Usar sobremetal constante em torno do vetor.
    • Caso deseje usinar em torno da fronteira do vetor selecionado, selecione a opção Vetor externo define o limite de usinagem. Se o vetor selecionado apresentar uma cavidade central, a cavidade não é removida utilizando essa opção. A caixa Sobremetal de Figura também está desabilitada.
  9. Selecione a estratégia de usinagem que você deseja utilizar:
    • Somente Perfilar — Essa estratégia permite que a ferramenta de corte execute passos de perfil em torno da figura selecionada.
    • Desbaste — Essa estratégia permite que a ferramenta de corte remova material de uma área com base na fronteira da figura selecionada, e então execute passos de perfil em torno da figura.
      Nota: A figura selecionada não é usinada utilizando a estratégia Desbaste. Uma área protegida é criada em torno da figura selecionada durante o processo de usinagem.

      Se você tiver selecionado Desbaste, insira um valor na caixa Distância de Sobrecorte para remover qualquer crista de material não desejado que possa aparecer em torno da figura.

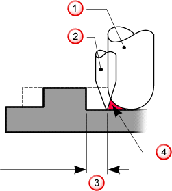
      Por exemplo, se uma ferramenta de corte Esférica for utilizada como a ferramenta de figuracom uma estratégia de Desbaste, uma crista de material não usinado pode aparecer em torno dela:

      Ferramenta esférica.

      Ferramenta de gravação.

      Sobremetal de figura

      Um sobrecorte é necessário para remover esse material.

      Nota: A Distância de Corte deve normalmente ser igual ao raio da Ferramenta de Figura utilizada numa estratégia de Desbaste.
  10. Insira um valor na caixa Sobremetal para especificar um offset a partir do vetor usinado.
  11. Para executar a estratégia de usinagem selecionada como uma série de passos na direção Z, selecione Múltiplos Passos em Z.
    1. Insira o número de passos Z que você deseja executar na caixa Nº Camadas.
    2. Clique em Espaçamento Linear. Isso distribui os passos Z pelo material da figura.
    3. Clique em Adicionar para adicionar uma nova camada.
    4. Destaque um valor na caixa à esquerda da área Múltiplos Passos e clique em Apagar para apagar um valor individual.
  12. Selecione como a ferramenta de corte alcança a profundidade definida.
    • Descer Ferramenta — Quando selecionado, o ArtCAM verifica quanto a colisões entre a geometria da ferramenta e o relevo usinado. Isso reduz a possibilidade de invasões.
    • Projetar Ferramenta — Quando selecionado, o ArtCAM ignora a geometria da ferramenta e a linha de centro da ferramenta é projetada no relevo.
  13. Selecione a Direção de Corte que você deseja utilizar.
    • Concordante — Selecione a opção para rotacionar a fresa na mesma direção que o movimento de avanço. A opção está selecionada por padrão.
    • Discordante — Selecione a opção para rotacionar a fresa na direção oposta ao movimento de avanço.
    Nota: Configure a direção de corte padrão no painel Opções.
  14. Insira um valor na caixa Tolerância para especificar com que precisão você deseja que a ferramenta de cortesiga a forma da figura selecionada.
  15. Caso deseje modificar a altura em que a ferramenta executa movimentos rápidos entre segmentos do percurso e definir a posição inicial para a ferramenta, clique na barra de controle Z da Máquina para expandir suas configurações.
    • Z Seguro — Insira a altura em que a ferramenta selecionada realiza movimentos rápidos entre segmentos de percurso. Esse valor precisa ser suficiente para evitar qualquer fixação utilizada para manter a folha ou bloco de material em posição.
    • Início X, Y e Z — Insira as coordenadas X, Y e Z das posições inicial e final da ferramenta. Devem estar a uma distância segura da sua folha ou bloco de material.
  16. Clique em Selecionar próximo a Ferramenta de Figura para exibir o diálogo Base de Dados de Ferramenta, que permite selecionar a ferramenta que você deseja utilizar.
  17. Clique em Configurar próximo a Material para definir o tamanho do seu bloco de material.
  18. Na área Percurso, insira um Nome para o percurso. Se você deixar essa caixa em branco, o percurso é nomeado de acordo com o tipo de percurso sendo criado. Por exemplo, se você criar três percursos de Usinagem de Figuras e não renomeá-los, eles são nomeados Usinagem de Figuras, Usinagem de Figuras 1 e Usinagem de Figuras 2.
  19. Certifique-se de que os vetores a partir dos quais você deseja criar o percurso de Usinagem de Figura estejam selecionados, e então:
    • Clique em Calcular Depois caso deseje calcular o percurso posteriormente sozinho ou como parte de um lote. O percurso é adicionado à Árvore de Projeto sob o item Percursos, mas é exibido em vermelho para indicar que não foi calculado.
    • Clique em Calcular Agora para calcular o percurso agora. Uma barra de progresso é exibida na área Barra de Status durante o cálculo, então o percurso é adicionado à Árvore de Projeto sob o item Percursos. É exibido em preto para indicar que foi calculado.

      Uma representação em arames do percurso calculado é exibida na vista 3D.

    • Nota: Você pode editar as configurações de um percurso antes ou depois de ter sido calculado.

Após ter sido calculado, o percurso pode ser simulado.

Nota: A disponibilidade dessa função depende do tipo de licença.

Consulte também