Utilice la figura de Cajera rectangular para crear cajeras rectangulares.

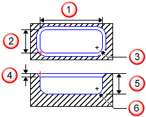
— Longitud
— Anchura
— Radio de esquina
— Chaflán
— Profundidad
— Radio inferior
Para ello, introduzca el diámetro de la cajera en los campos de Longitud y Anchura e introduzca el radio de la cajera en el campo de Radio de esquina.