In questa attività si apprenderà come effettuare le operazioni seguenti:
Creare una quota lineare.
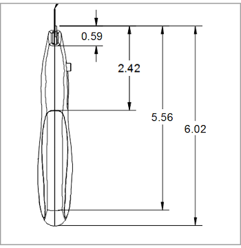
Fare clic su Quote > Quota lineare.

Il comando Quota lineare si trova sotto l'elenco a discesa Quota.
Utilizzare gli snap ad oggetto per fare clic su due punti finali nella vista dal basso, come illustrato nella sequenza di immagini riportata di seguito. In corrispondenza della posizione del cursore viene visualizzata un'anteprima.

Snap ad oggetto.
Trascinare il cursore verso destra e fare di nuovo clic per posizionare la quota.

Una quota posizionata.
Nota È anche possibile premere la barra spaziatrice e selezionare uno spigolo per creare una quota con un solo clic.
Il comando resta attivo per facilitare la creazione di quote aggiuntive. Premere Esc per terminare il comando Quota lineare.
Creare una quota allineata.
Fare clic su Quote > Quota allineata.

Il comando Quota allineata si trova sotto l'elenco a discesa Quota.
Utilizzando gli snap ad oggetto, fare clic sul bordo superiore e sul punto inferiore della lama di taglio nella vista da destra, come illustrato nell'immagine seguente.
Trascinare esternamente il cursore verso sinistra per visualizzare un'anteprima della quota.
Fare di nuovo clic per posizionare la quota.

Una quota posizionata.
Il comando resta attivo per facilitare la creazione di quote aggiuntive. Premere Esc per terminare il comando Quota allineata.
Riposizionare la quota.
Fare clic sulla quota allineata.
Fare clic sul grip grigio sul testo.
Spostare il testo in modo che si trovi tra le frecce della quota.

Riposizionamento della quota.
Fare clic in un punto qualsiasi all'esterno della quota per completare l'azione.
Creare una quota diametro.
Fare clic su Quote > Quota diametro.
Selezionare il perno del dispositivo di scorrimento della lama nella vista di dettaglio.
Trascinare il cursore verso l'alto e verso destra per visualizzare un'anteprima della quota.

Una quota diametro.
Fare di nuovo clic per posizionare la quota.
Il comando resta attivo per facilitare la creazione di quote aggiuntive. Premere Esc per terminare il comando Quota diametro.
L'utensile Quota da linea di base consente di creare più quote lineari misurate dalla stessa posizione. L'utensile Quota in serie crea più quote lineari posizionate da un'estremità all'altra.
Le quote da linea di base e in serie derivano da una quota originale. Per poter creare quote da linea di base o in serie, è necessario creare prima una quota lineare.
Creare una nuova quota lineare.
Si procederà all'eliminazione della quota lineare nella vista dal basso selezionando la quota e premendo il tasto Canc oppure selezionando Elimina nel menu Contrassegno.
Creare una nuova quota lineare all'estremità della base della lama.

Una nuova quota lineare.
Posizionare quote in serie.
Fare clic su Quote > Quota in serie.

Il comando Quota in serie si trova sotto l'elenco a discesa Quota.
Selezionare la linea di estensione inferiore della quota appena posizionata.

Una quota in serie.
Completare la quota in serie.
Fare clic sull'estremità del grip del taglierino per specificare il punto finale della prima quota.

Una quota in serie.
Fare nuovamente clic per specificare un altro punto finale di una quota.
Fare clic ancora una volta all'estremità della vista dal basso.

Una quota in serie.
Per terminare l'azione, premere Enter.
Le quote da linee di base funzionano allo stesso modo delle quote in serie, ma creano quote multiple che iniziano tutte dalla stessa posizione. Qualora fosse stata utilizzata l'opzione Quote linea base, l'aspetto sarebbe stato simile al seguente:

Una quota linea di base.
Modificare le proprietà della quota.
Fare doppio clic sulla quota sul grip posteriore della vista dal basso. Viene visualizzata la finestra di dialogo Quota.

La finestra di dialogo Quota.
Nel campo Precisione primaria, scegliere 0.123 dall'elenco a discesa.
Attivare l'opzione Unità alternative per visualizzare una quota per un sistema di unità aggiuntivo.

La finestra di dialogo Quota.
Aggiungere tolleranza alla quota.
Scegliere Limite nell'elenco a discesa Tipo nella sezione Tolleranza della finestra di dialogo.
Assicurarsi che entrambe le opzioni Tolleranza superiore e Tolleranza inferiore siano impostate su 0.01.

La finestra di dialogo Quota.
Fare clic su Chiudi.
Creare una quota di riferimento.
Creare una nuova quota lineare nella vista da destra utilizzando l'angolo della base della lama e il punto di snap del quadrante all'estremità del manico come punti di snap.

Una quota di riferimento.
Premere Esc per terminare il comando Quota lineare.
Fare doppio clic sulla quota appena creata. Viene visualizzata la finestra di dialogo QUOTA.
Espandere la sezione Rappresentazione della finestra di dialogo.
Selezionare l'opzione Quota di riferimento in Rappresentazione.

La finestra di dialogo Quota.
Fare clic su Chiudi.
A questo punto, il disegno dovrebbe avere un aspetto simile a quello dell'immagine seguente:

L'aspetto finale del disegno alla fine dell'attività 4.
In questa attività si è appreso come effettuare le operazioni seguenti: