このアクティビティの内容:
幾何公差を作成します。
幾何公差記号は、複数の領域に分割された長方形の枠です。
[記号]ツールバーから、[幾何公差]を選択します。

[幾何公差]コマンドは、[記号]ドロップダウン リストにあります。**
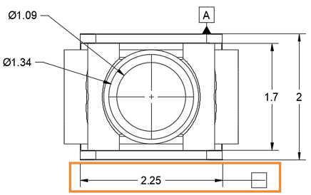
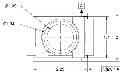
正面図で、2.25 の寸法を選択します。
カーソルを右にドラッグし、クリックして幾何公差を配置します。

幾何公差が配置されます。**
Enter を押して[幾何公差]ダイアログを表示します。
[幾何公差]ダイアログで、次の操作を行います。
![[幾何公差]ダイアログ](../images/tutorial/3-5-feat-ctrl-frame-dialog.png)
[幾何公差]ダイアログ。**
[OK]をクリックします。

完成した幾何公差。**
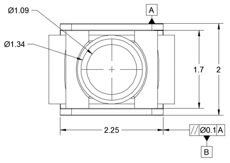
幾何公差の下部にデータム ID を追加します。
データム ID 記号は、幾何公差記号のデータム フィーチャを識別するためのものです。
[記号]ツールバーから、[データム ID]を選択します。

[データム ID]コマンドは、[記号]ドロップダウン リストにあります。**
正面図で、幾何公差を選択します。
カーソルを下にドラッグしてクリックし、データム ID を配置して、[データム ID]ダイアログを開きます。
[データム ID]ダイアログで、[識別子]フィールドに値 B を入力します。

[データム ID]ダイアログ。**
[OK]をクリックして、コマンドを完了します。

完成したデータム ID。**
このアクティビティの内容: