このアクティビティの内容:
長さ寸法を作成します。
[寸法] > [長さ寸法]をクリックします。

[長さ寸法]コマンドは、[寸法]ドロップダウン リストにあります。**
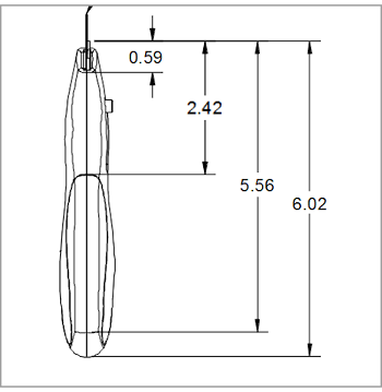
オブジェクト スナップを使用して、下面ビュー上の 2 つの端点をクリックします(下記のイメージ シーケンス参照)。カーソル位置にプレビューが表示されます。

オブジェクト スナップ:
カーソルを右方向にドラッグし、もう一度クリックして寸法を配置します。

配置された寸法。**
コマンドはアクティブなままなので、容易に寸法を追加作成できます。Esc を押して[長さ寸法]コマンドを終了します。
平行寸法を作成します。
[寸法] > [平行寸法]をクリックします。

[平行寸法]コマンドは、[寸法]ドロップダウン リストにあります。**
オブジェクト スナップを使用し、右側面ビューの切断ブレードの上エッジと底点をクリックします(下図参照)。
カーソルを左にドラッグして、寸法のプレビューを表示します。
もう一度クリックして寸法を配置します。

配置された寸法。**
コマンドはアクティブなままなので、容易に寸法を追加作成できます。Esc を押して[平行寸法]コマンドを終了します。
寸法を再配置します。
平行寸法をクリックします。
文字上の灰色のグリップをクリックします。
寸法矢印の間になるように文字を移動します。

寸法の再配置。**
寸法の外側の任意の場所を選択して、操作を完了します。
直径寸法を作成します。
[寸法] > [直径寸法]をクリックします。
詳細ビューでブレード スライダ ピンを選択します。
カーソルを右上にドラッグして、寸法のプレビューを表示します。

直径寸法。**
もう一度クリックして寸法を配置します。
コマンドはアクティブなままなので、容易に寸法を追加作成できます。Esc を押して[直径寸法]コマンドを終了します。
並列寸法記入ツールは、同じ位置から計測される複数の長さ寸法を作成します。直列寸法記入ツールは、端点間に配置される複数の長さ寸法を作成します。
並列寸法と直列寸法は元の寸法から抽出します。並列寸法や直列寸法を作成する前に、長さ寸法を最初に作成しておく必要があります。
新しい長さ寸法を作成します。
寸法を選択して[Delete]キーを押すか、[マーキング メニュー]で[削除]を選択することで、下面ビューで長さ寸法を削除しましょう。
ブレード架台の端部に新しい長さ寸法を作成します。

新しい長さ寸法。**
直列寸法を配置します。
[寸法] > [直列寸法]をクリックします。

[直列寸法]コマンドは、[寸法]ドロップダウン リストにあります。**
新しく配置された寸法の下側の寸法補助線を選択します。

直列寸法。**
直列寸法を完成させます。
ナイフのグリップの端部をクリックして、最初の寸法の端点を指定します。

直列寸法。**
もう一度クリックして、寸法のもう 1 つの端点を指定します。
下面ビューの一番端をもう一度クリックします。

直列寸法。**
操作を終了するには、Enter を押します。
並列寸法は、直列寸法と同様に機能し、違いはすべて同じ位置から始まる複数の寸法を作成することだけです。ここで並列寸法を使用すると、次のようになります。

並列寸法。**
寸法のプロパティを修正します。
下面ビューのバック グリップの寸法をダブルクリックします[寸法]ダイアログが表示されます。

寸法ダイアログ。**
[基本精度]フィールドで、ドロップダウン リストから[0.123]を選択します。
[変換単位]オプションをアクティブにして、追加単位系の寸法を表示します。

寸法ダイアログ。**
寸法に公差を追加します。
ダイアログの[公差]セクションの[タイプ]ドロップダウン リストから[範囲]を選択します。
[上限公差]と[下限公差]の両方が[0.010]に設定されていることを確認します。

寸法ダイアログ。**
[閉じる]をクリックします。
参照寸法を作成します。
右側面ビューで、ブレード架台のコーナーと、スナップ点としてハンドル端部の四分円のスナップ点を使用して、新しい長さ寸法を作成します。

参照寸法。**
Esc を押して[長さ寸法]コマンドを終了します。
先ほど作成した寸法をダブルクリックします。[寸法]ダイアログが表示されます。
このダイアログの[リプレゼンテーション]セクションを展開します。
[リプレゼンテーション]領域で[参照寸法]オプションを選択します。

寸法ダイアログ。**
[閉じる]をクリックします。
この時点で、図面は次の図のようになります。

アクティビティ 4 の最後まででの、図面の最終的な外観。**
このアクティビティの内容: