Zugriff auf Werkzeuge für die Erstellung von neuen Faser-, Matrix-, Kern- oder Laminatmaterialien und neuen Laminaten oder Dicke-/Winkelvorlagen.
Das zweite Dropdown-Menü, das am oberen Rand der Helius Composite-Benutzeroberfläche angezeigt wird, ist das Menü Neues Element. Die unter Neues Element verfügbaren Optionen werden nachfolgend beschrieben.
- Neue Faser
- Hier können Sie ein neues Fasermaterial erstellen. Bei Auswahl dieser Option wird das Fenster Neue Faser angezeigt, in dem Sie den Namen des neuen Fasermaterials definieren und seine Eigenschaften festlegen können. Klicken Sie auf Speichern, um das neue Fasermaterial der Materialdatenbank hinzuzufügen. Um das neue Fasermaterial zu verwerfen, ohne es in der Materialdatenbank zu speichern, klicken Sie auf Schließen.
- Neue Matrix
- Hier können Sie neue Matrixmaterialien erstellen. Bei Auswahl dieser Option wird das Fenster Neue Matrix angezeigt, in dem Sie den Namen des neuen Matrixmaterials definieren und seine Eigenschaften festlegen können. Klicken Sie auf Speichern, um das neue Matrixmaterial der Materialdatenbank hinzuzufügen. Um das neue Matrixmaterial zu verwerfen, ohne es in der Materialdatenbank zu speichern, klicken Sie auf Schließen.
- Neue Lage
- Hier können Sie neue Lagenmaterialien erstellen. Bei Auswahl dieser Option wird das Fenster Neue Lage angezeigt, in dem Sie den Namen des neuen Lagenmaterials definieren und seine Eigenschaften festlegen können. Klicken Sie auf Speichern, um das neue Lagenmaterial der Helius Composite-Materialdatenbank hinzuzufügen. Um das neue Lagenmaterial zu verwerfen, ohne es in der Materialdatenbank zu speichern, klicken Sie auf Schließen.
- Neue Lage von Mikromechanik
- Wenn Sie nicht wissen, welche Eigenschaften bzw. Festigkeiten das neue Lagenmaterial haben soll, erstellen Sie das neue Lagenmaterial mithilfe dieser Option. Wenn sie aktiviert ist, verwendet Helius Composite Mikromechanik zur Berechnung der Eigenschaften des neuen Lagenmaterials auf Grundlage der Eigenschaften der Faser- und Matrixmaterialien, die Sie ausgewählt haben. Bei Auswahl dieser Option wird das Fenster Lageneigenschaften berechnen angezeigt. Es enthält zwei Registerkarten. Die erste (vorgabemäßig eingestellte) Registerkarte ist die Registerkarte Rechner. Auf dieser Registerkarte können Sie eine Faser und Matrix sowie einen Faser- oder Matrixvolumenanteil auswählen. Durch Klicken auf die Schaltfläche Berechnen wird das Modul für Helius Composite-Mikromechanik aufgerufen, mit dem die Materialeigenschaften und die Festigkeiten der neuen Lage berechnet werden. Die berechneten Eigenschaften der neuen Lage werden dann auf der Registerkarte Ergebnisse angezeigt. Um das neue Lagenmaterial zur Materialdatenbank hinzuzufügen, klicken Sie auf die Schaltfläche Speichern unter der Registerkarte Ergebnisse. Alternativ können Sie wieder zur Registerkarte Rechner wechseln, um die Konstituentenmaterialien der Lage oder den Faservolumenanteil zu ändern und die Eigenschaften der neuen Lage neu zu berechnen. Um das neue Lagenmaterial zu verwerfen, ohne es in der Materialdatenbank zu speichern, schließen Sie einfach das Fenster Lageneigenschaften berechnen, ohne auf die Schaltfläche Speichern zu klicken.
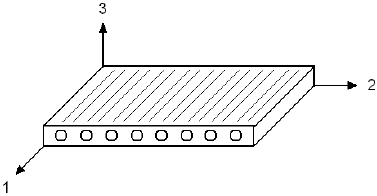
- Mikromechanik ist die Theorie, nach der die mechanischen Eigenschaften einer Lage auf Grundlage der Faser, Matrix und des Faservolumenanteils der Lage berechnet werden. Das Material-Koordinatensystem für die Lagen wird unten gezeigt. Es wird davon ausgegangen, dass die Fasern kontinuierlich und parallel zur Richtung '1' verlaufen. Fasern sind in erster Linie für die hohe Festigkeit und Steifheit der Lage in der Richtung '1' verantwortlich. Das Matrixmaterial (Harz) bietet eine elastische Zwischenfaserauflage und verleiht daher der Sammlung der Verstärkungsfasern Stabilität. Die Matrix ist in erster Linie für die Steifheit und Festigkeit der Lage in den Richtungen '2' und '3' (lotrecht zu den Fasern) sowie für die Schersteifheit und -festigkeit der Lage in den drei Hauptebenen verantwortlich.
- Das für Polymermatrix-Verbundwerkstoffe entwickelte Mikromechanik-Modul für Helius Composite berechnet die elastischen Eigenschaften der Lagen mit einem mikromechanischen Finite-Element-Modell in quasi-3D. Das Finite-Element-Modell setzt voraus, dass eine gleichmäßige sechseckige Anordnung der Fasern in dem Matrixmaterial enthalten ist. Das Mikromechanik-Modul berechnet die Festigkeiten der Lagen mit verschiedenen Ausdrücken in geschlossener Form für die Dehnungen bis zum Ausfall in verschiedenen grundlegenden Verformungsmodi.
- Für Faservolumenanteile von weniger als 30 % ist das FE-Mikromechanik-Modell nicht verfügbar. Stattdessen werden algebraische Methoden in geschlossener Form verwendet.
Weitere Informationen über die Erstellung neuer Lagenmaterialien finden Sie auf den folgenden Seiten (Erstellen von neuen Fasern, Matrizen, Kernen und Lagen und Berechnen neuer Lageneigenschaften von Mikromechanik).
- Neue Metall
- Hier können Sie ein neues Metall-Material erstellen. Bei Auswahl dieser Option wird das Fenster Neues Metall angezeigt, in dem Sie den Namen des neuen Metall-Materials definieren und seine Eigenschaften festlegen können. Klicken Sie auf Speichern, um das neue Metall-Material der Materialdatenbank hinzuzufügen. Um das neue Metall-Material zu verwerfen, ohne es in der Materialdatenbank zu speichern, klicken Sie auf Schließen.
- Neuer Kern
- Hier können Sie neue Kernmaterialien erstellen. Bei Auswahl dieser Option wird das Fenster Neuer Kern angezeigt, in dem Sie den Namen des neuen Kernmaterials definieren und seine Eigenschaften festlegen können. Klicken Sie auf Speichern, um das neue Kernmaterial der Materialdatenbank hinzuzufügen. Um das neue Kernmaterial zu verwerfen, ohne es in der Materialdatenbank zu speichern, klicken Sie auf Schließen.
- Neue Dicke-/Winkelvorlage
-
Hier können Sie eine neue Dicke-/Winkelvorlage erstellen. Eine Dicke-/Winkelvorlage ist eine Sammlung von Daten, die vollständig die Geometrie eines Laminats definiert, aber der keine bestimmten Materialien zugewiesen sind. Diese geometrischen Daten enthalten die Anzahl der Schichten im Laminat sowie die Dicke und die Faserausrichtung der einzelnen Schichten. Eine Dicke-/Winkelvorlage kann verwendet werden, um bei der Erstellung eines neuen Laminats alle erforderlichen geometrischen Informationen sofort bereitzustellen. Gespeicherte Dicke-/Winkelvorlagen sind daher nützlich für den einfachen Zugriff auf bestimmte Laminatgeometrien, die Sie häufig verwenden. Weitere Informationen über die Erstellung einer neuen Dicke-/Winkelvorlage finden Sie unter Erstellen einer neuen Dicke-/Winkelvorlage.
- Neues Laminat
- Hier können Sie ein neues Laminat erstellen. Bei Auswahl dieser Option wird das Fenster Neues Laminat angezeigt, in dem Sie den Namen und die Geometrie des Laminats definieren und die Materialien für die einzelnen Materialschichten des Laminats identifizieren können. Der Abschnitt Erstellen eines neuen Laminats bietet detaillierte Informationen zum Verwenden dieser Option.
Weitere Informationen zur Erstellung eines neuen Laminats finden Sie unter Erstellen eines neuen Laminats.
Laminat-Koordinatensystem (links) und Koordinatensystem für zylindrisches Laminat-Rohr (rechts)