Balkenelemente

Balkenelemente weisen zwei Knoten auf und lassen eine willkürliche Ausrichtung im 3D-Raum zu (dreidimensional, X-Y-Z). Zum Definieren der Elementausrichtung ist ein weiterer Knoten (K-Knoten) erforderlich. Der Balken überträgt Momente, Drehmomente und Kräfte und ist ein allgemeines Element mit sechs (6) Freiheitsgraden (drei globale Translations- und Rotationskomponenten an jedem Ende).

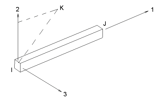
Abbildung 1: Definition des K-Knotens für ein Balkenelement

3D-Balkenelemente sind dreidimensionale, gleichmäßige Querschnittelemente, die umfangreiche Verformungen und eine elastische/plastische Analyse allgemeiner Balkenrahmenprobleme zulassen. Die Änderung der Querschnittsform wird in MES-/nichtlinearen Strukturanalysen nicht berücksichtigt.

Extern verfügt der Balken über sechs Freiheitsgrade, drei Verschiebungen und drei Drehungen. Das Ergebnis der Analyse enthält die Endkräfte des Balkens, die axiale Spannung und die zugehörigen Scherspannungen. Es unterstützt vollständige 3D-Verschiebungs- und 3D-Drehungsbewegungen. 3D-Balkenelemente werden häufig in Analysen verwendet, wenn bei großen Verformungen und/oder nichtlinearen Materialeffekten Biegung, Torsion oder Streckung auftritt.

Abbildung 2: Beispiel für ein 3D-Balkenelement

Bauteil-, Layer- und Flächeneigenschaften für Balkenelemente

In der folgenden Tabelle wird beschrieben, was durch die Bauteil-, Layer- und Flächeneigenschaften für Balken gesteuert wird.

Bauteilnummer Elementdaten (Materialmodell, detaillierte Ausgabe usw.), spannungsfreie Referenztemperatur und Materialeigenschaften.
Layernummer Querschnittseigenschaften (mit Ausnahme des allgemeinen Abschnittstyps).
Flächennummer Ausrichtung.

Ausrichtung des Balkenelements

Die meisten Balken verfügen über eine starke und eine schwache Biegeachse. Da Balkenvarianten als eine Linie dargestellt werden und eine Linie ein Objekt ohne inhärente Querschnittsausrichtung ist, muss die Ausrichtung der starken oder schwachen Achse im dreidimensionalen Raum mithilfe einer anderen Methode festgelegt werden. Diese Ausrichtung wird durch die Flächennummer der Linie gesteuert.

Konkret bedeutet dies, dass durch die Flächennummer der Linie ein Punkt im Raum erzeugt wird. Dieser wird als K-Knoten bezeichnet. Die beiden Enden des Balkenelements (der I- und der J-Knoten) und der K-Knoten bilden eine Ebene (siehe Abbildung 3). Balkenelemente werden durch die lokalen Achsen 1, 2 und 3 definiert, wobei Achse 1 vom I-Knoten zum J-Knoten verläuft, Achse 2 in der durch die I-, J- und K-Knoten gebildeten Ebene liegt und Achse 3 mithilfe der Rechte-Hand-Regel festgelegt wird. Nachdem die Elementachsen festgelegt wurden, können die Querschnittseigenschaften A, Sa2, Sa3, J1, I2, I3, Z2 und Z3 in das Dialogfeld Elementdefinition eingegeben werden.

Abbildung 3: Achse 2 in der Ebene der I-, J- und K-Knoten

Beispiel: Abbildung 4 zeigt einen Teil von zwei Modellen, von denen jedes einen W10x45 I-Balken enthält. Beachten Sie, dass beide Varianten über dieselben physische Ausrichtung verfügen. Die Stege sind parallel. Der Analyst hat jedoch den K-Knoten oberhalb des Balkenelements in Modell A und seitlich des Balkenelements in Modell B platziert. Die Querschnittseigenschaften sind zwar identisch, für das Trägheitsmoment um Achse 2 (I2) und das Trägheitsmoment um Achse 3 (I3) müssen jedoch unterschiedliche Werte eingegeben werden.

Abbildung 4: Eingeben geeigneter Querschnittseigenschaften für die Balkenausrichtung

Achtung: Obwohl beide Eigenschaften-Definitionsschemas (Modell A oder Modell B) zulässig sind, wird dringend empfohlen, dass Sie die Methode verwenden, die im Beispiel für Modell A gezeigt wird. Diese Methode ist konsistent mit den Eigenschaften, die in allen vorinstallierten Querschnittsbibliotheken für Balken verwendet werden. Durch die Einhaltung eines einheitlichen Ansatzes wird die Wahrscheinlichkeit von Fehlern minimiert.

Die Standardposition des K-Knotens (für Balkenausrichtung nach der Flächennummer der Linien)

Tabelle 1 zeigt, wo sich die K-Knoten für verschiedene Flächennummern befinden. Die beste Position ist die, an der der K-Knoten erstellt wurde, vorausgesetzt die I-, J- und K-Knoten bilden eine Ebene. Wenn das Balkenelement mit dem K-Knoten kollinear ist, kann keine eindeutige Ebene erzeugt werden. In diesem Fall wird die zweitbeste Position für das Element verwendet.

Tabelle 1: Zusammenhang zwischen Flächennummer und K-Knoten (Ausrichtung von Achse 2)
Flächennummer Beste Position des K-Knotens Zweitbeste Position des K-Knotens
1 1E14 in +Y 1E14 in -X
2 1E14 in +Z 1E14 in +Y
3 1E14 in +X 1E14 in +Z
4 1E14 in -Y 1E14 in +X
5 1E14 in -Z 1E14 in -Y
6 1E14 in -X 1E14 in -Z

Beachten Sie, dass die Koordinaten der K-Knoten einen extrem großen Abstand zum Ursprung haben. Es gibt einen sehr guten Grund für diese Platzierung. Denken Sie an die begrenzten Abmessungen von realen Analysemodellen. Breite, Länge und Höhe sind unbedeutend im Vergleich zum Abstand bis zur Position des K-Knotens. Beispiel: +Z gibt die Aufwärtsrichtung an, und Sie verwenden Fläche 2 für die Deckenbalken einer 50 Meter breiten Struktur. Die Abweichung der vertikalen Achse der Balken von der Z-Achse ist bei einer Verschiebung um +/-25 m (oder um 50 m) verschwindend gering. Angenommen, die Längeneinheit ist Millimeter. Der Arcussinus von (50,000 mm / 1E14 mm) beträgt 0.0000000143° (dies entspricht Null bei allen praktischen Anwendungen). Sie müssen nicht mehrere K-Knoten für vertikal ausgerichtete Balken definieren, selbst wenn diese sich an mehreren Punkten einer sehr weiten Struktur befinden.

Sie können die Flächennummer und damit die Standardausrichtung der Balken ändern. Wählen Sie die gewünschten Balkenelemente aus (mit dem Befehl Auswahl Auswählen Linien), und klicken Sie mit der rechten Maustaste in den Anzeigebereich. Wählen Sie den Befehl Attribute bearbeiten aus, und ändern Sie den Wert im Feld Fläche:.

Benutzerdefinierte Ausrichtung des Balkenelements

In gewissen Situationen ist eine globale Position für den K-Knoten möglicherweise nicht geeignet. Wählen Sie in diesem Fall die Balkenelemente in der FEM-Editor-Umgebung mithilfe des Befehls Auswahl Auswählen Linien aus, und klicken Sie mit der rechten Maustaste in den Anzeigebereich. Wählen Sie den Befehl Balkenausrichtungen Neu aus. Geben Sie die X-, Y- und Z-Koordinaten des K-Knotens für diese Balken ein. Klicken Sie zum Auswählen eines bestimmten Knotens im Modell auf den Knoten, oder geben Sie die Knoten-ID in das Feld ID ein. An der angegebenen Koordinate wird ein blauer Kreis angezeigt. Abbildung 5 zeigt ein Beispiel für eine Balkenausrichtung, bei der der Ursprung als K-Knoten definiert werden soll.

Abbildung 5: Ausrichtung eines schiefen Balkens

So kehren Sie die Richtung von Achse 1 um

Die Richtung von Achse 1 kann im FEM-Editor umgekehrt werden, indem Sie die zu ändernden Elemente auswählen (Auswahl Auswählen Linien), mit der rechten Maustaste klicke und Balkenausrichtungen I und J vertauschen auswählen. Diese Möglichkeit ist für Lasten, die von den I- und J-Knoten abhängig sind, und zum Steuern der Richtung von Achse 3 hilfreich. (Wie bereits erläutert wird Achse 3 mithilfe der Rechte-Hand-Regel aus den Achsen 1 und 2 gebildet.) Wenn eines der ausgewählten Elemente eine von der I/J-Ausrichtung abhängige Last aufweist, werden Sie gefragt, ob Sie die Lasten umgekehrt werden sollen oder nicht. Da die I- und J-Knoten vertauscht werden, werden bei Auswahl von Ja die Eingaben für die Last umgekehrt und die aktuelle Grafikanzeige beibehalten. Die I- und J-Knoten sowie das I/J-Ende mit der Last werden umgekehrt. Wählen Sie Nein aus, um die ursprünglichen Eingaben beizubehalten. Hierdurch wechselt ein Endenfreiheitsgrad für den I-Knoten zum entgegen gesetzten Ende des Elements, da sich die Position des I-Knotens ändert.

So überprüfen Sie die korrekte Ausrichtung der Achse

Die Ausrichtung der Elemente kann in der FEM-Editor-Umgebung mithilfe des Befehls Ansicht Sichtbarkeit Objektsichtbarkeit Elementachse angezeigt werden. Darüber hinaus kann die Ausrichtung in der Ergebnisanzeige mit dem Befehl Ergebnisoptionen Ansicht Elementausrichtung überprüft werden. Zeigen Sie Achse 1, Achse 2 und/oder Achse 3 mit roten, grünen bzw. blauen Pfeilen an. Siehe Abbildung 6.

Abbildung 6: Symbol für die Balkenausrichtung

Für jede Achse werden andere Pfeile verwendet.

Angeben von Querschnittseigenschaften für Balkenelemente

Es gibt zwei Optionen im Dialogfeld Elementdefinition, die verwendet werden können, wenn Sie die Eigenschaften eines Balkenelements festlegen. Wenn Sie einen gebräuchlichen Querschnitt verwenden oder einen Querschnitt, der in einer der vorinstallierten Querschnittsbibliotheken für Balken vorhanden ist, wählen Sie im Dropdown-Feld Abschnittstyp die Option Vordefiniert aus, und definieren Sie die Eigenschaften im Dialogfeld Querschnittsbibliotheken. Dieser Vorgang wird für jeden Layer in dem Bauteil ausgeführt. Markieren Sie die Layer-Zeile in der Tabelle Abschnittseigenschaften, und klicken Sie auf die Schaltfläche Querschnittsbibliotheken.

Anmerkung:
  • Da nichtlineare Balken die tatsächliche Form und Bemaßung des Querschnitts erfordern, können die Querschnittseigenschaften (A, J1, I2 usw.) nicht direkt in die Tabelle eingegeben werden. Zum Eingeben der Form muss die Querschnittsbibliothek verwendet werden. Ebenso werden die Querschnittseigenschaften (A, J1, I2 usw.) nur zur Referenz angezeigt. Bei der Analyse werden die benötigten Eigenschaften basierend auf den Bemaßungen der Form berechnet.
  • Informationen zum Erstellen einer Serie von Querschnitten über die Länge eines Balkens, um so einen sich verjüngenden Balken zu erzeugen, finden Sie auf der Seite Assistent für variable Querschnitte.

Definieren von allgemeinen Balkeneigenschaften

Wenn Sie einen ungewöhnlichen Querschnitt verwenden, wählen Sie die Option Allgemein in der Dropdown-Liste Abschnittstyp aus. Die Tabelle Allgemein wird verwendet, um den Querschnitt des Balkenelements durch Angabe mehrerer Indizes zu definieren. Jeder Index entspricht einem Streifen des Querschnitts. Ein Index kann ein vierseitiges Element oder ein Bogen mit einer Dicke sein. Ein vierseitiger Index wird durch zwei Punkte definiert. Hierbei handelt es sich um die Mittelpunkte der Enden des vierseitigen Elements, wie in Abbildung 7(a) dargestellt. Ein Bogenindex wird durch drei Punkte definiert, wie in Abbildung 7(b) dargestellt. Die Punkte 1 und 3 bilden die Enden des Bogens. und Punkt 2 ist ein weiterer Punkt auf dem Bogen.

Anmerkung: Bei Verwendung des Abschnittstyps Allgemein müssen die Balkenelemente auf Layer 1 gezeichnet werden.

(a) Vierseitiger Abschnitt.

(b) Bogenabschnitt.

Abbildung 7: Beispiel für Streifen

Definieren Sie für jeden Streifen die YY- und ZZ-Koordinaten der einzelnen Punkte und die Breite des Segments an diesem Punkt. Die YY-Koordinate bezieht sich auf die lokale Achse 2 des Balkens und die ZZ-Koordinate auf die lokale Achse 3. Beide Bemaßungen werden ab dem berechneten Schwerpunkt des Querschnitts gemessen. Der Schwerpunkt der endgültigen Form befindet sich auf der Achse des Balkenelements. Die YY- und ZZ-Koordinaten sollten den Mittelpunkten der Streifen entsprechen.

Tipp:

Im Vorschaufenster des Dialogfelds Elementdefinition werden die Streifen während der Eingabe von Daten angezeigt. Beachten Sie die folgenden Funktionen des Vorschaufensters:

  • Der Streifen für die Zeile mit dem Mauszeiger wird hervorgehoben. Bewegen Sie den Mauszeiger zu einer anderen Zeile in der Tabelle, um die einzelnen Streifen anzuzeigen.
  • Drehen Sie das Mausrad zum Vergrößern oder Verkleinern der Ansicht im Vorschaufenster.
  • Halten Sie die linke Maustaste gedrückt, und ziehen Sie Maus, um das Vorschaufenster zu schwenken.
  • Klicken Sie mit der rechten Maustaste, und wählen Sie Ansicht einschließen, um die gesamte Skizze anzuzeigen.

Ob ein Querschnitt geöffnet (wie I-Balken oder Kanäle) oder geschlossen (wie Leitungen und Rohre) ist, wirkt sich auf die Berechnung der Torsionskonstante (J1) aus. Die folgenden Kriterien bestimmen, wie die Torsionskonstante berechnet wird:

  • Geschlossene Abschnitte:
    • Die Abschnittsnummern für die einzelnen Indizes sind identisch (ungleich NULL).
    • Die Koordinate des letzten Punkts auf dem vorherigen Streifen stimmt mit der ersten Koordinate auf dem nächsten Streifen überein.
    • Die Koordinate des letzten Punkts auf dem letzten Streifen im Abschnitt stimmt mit der ersten Koordinate des ersten Streifens im Abschnitt überein. Dadurch sind die Streifen in einem Abschnitt fortlaufend.
  • Geöffnete Abschnitte:
    • Die Abschnittsnummern für die einzelnen Indizes sind identisch (ungleich NULL).
    • Die Streifen sind nicht in einer geschlossenen Reihenfolge miteinander verbunden.
  • Andere Abschnitte:
    • Wenn die Abschnittsnummer 0 ist, wird die Torsionskonstante basierend auf dem polaren Trägheitsmoment (Iyy+Izz) berechnet. Dies gilt nur für runde Rohre.

Ein allgemeiner Querschnitt kann zudem aus mehreren Unterabschnitten bestehen. Wenn dies der Fall ist, müssen alle Indizes (Zeilen in der Tabelle) in den einzelnen Unterabschnitt dieselbe Nummer in der Spalte Abschnitt aufweisen. Sollten Streifen von den Unterabschnitten gemeinsam verwendet werden, müssen Sie in der Spalte Üblich die Abschnittsnummer des gemeinsamen Index angeben. Beispiel: Ein Querschnitt besteht aus zwei Unterabschnitten, Abschnitt 1 und Abschnitt 2. Index 2 für Abschnitt 1 stimmt mit Index 5 für Abschnitt 2 überein. In die Spalte Üblich für Index 2 müssen Sie 2 eingeben. In die Spalte Üblich für Index 5 müssen Sie 1 eingeben. Wenn durch einen Indexsatz ein geschlossener Querschnitt definiert wird, sollten diese Indizes einem eindeutigen Abschnitt hinzugefügt werden.

Anmerkung: Der Gleichungslöser berechnet die Querschnittseigenschaften (Fläche A, Trägheitsmomente Iyy und Izz usw.) um den Schwerpunkt des Querschnitts. Diese Ergebnisse werden nach Abschluss der Analyse in der Übersichtsdatei angegeben. Beachten Sie, dass diese Querschnittseigenschaften nur zu Referenzzwecken dienen. Der Gleichungslöser verwendet Integrationspunkte entlang der tatsächlichen Form während der Berechnungen.

Beispiele für den allgemeinen Abschnittstyp

Der hohle rechteckige Querschnitt in Abbildung 8(a) wurde mithilfe von vier rechteckigen Abschnitten gezeichnet. Damit die Software den Querschnitt als geschlossenen Querschnitt verarbeitet, muss jeder Punkt in exakt 2 Indizes verwendet werden. Daher müssen die vier Rechtecke in Abbildung 8(b) verwendet werden. Es stimmt, dass die Querschnittsgeometrie nicht perfekt dem tatsächlichen Querschnitt entspricht. Die Auswirkungen dieses Unterschieds auf die Analyse sind jedoch gering. Wenn Sie die vier Rechtecke definieren, wie in Abbildung 8(c) dargestellt, erhalten Sie einen offenen Querschnitt. Wenn Sie eine Torsionskonstante, die basierend auf einem offenen Querschnitt berechnet wurde, für einen geschlossenen Querschnitt verwenden, hat dies deutlich größere Auswirkungen als eine kleine Abweichung der Querschnittswerte. Der Querschnitt sollte mit dem allgemeinen Abschnittstyp definiert werden, wie in Tabelle 2 dargestellt.

Theoretische Ergebnisse:

A = 64,0 in2

Iyy = 1301,3 in4

Izz = 1061,33 in4

J1 = 1561,3 in4

(a) Tatsächliche Geometrie

Berechnete Ergebnisse:

A = 64,0 in2

Iyy = 1281,3 in4

Izz = 1050,3 in4

J1 = 1561,3 in4

(b) Richtig Methode zum Definieren des Querschnitts.

Der Wert hierfür ist in Tabelle 2 zu sehen.

Berechnete Ergebnisse:

A = 64,0 in2

Iyy = 1301,3 in4

Izz = 1061,3 in4

J1 = 62,2 in4

(c) Falsche Methode zum Definieren des Querschnitts.

Da die Punkte zwischen den Streifen nicht übereinstimmen, ist die Berechnung der Torsionskonstanten falsch.

Abbildung 8: Hohler rechteckiger Querschnitt

Tabelle 2: Definition des Querschnitts in Abbildung 8(b)

Index Abschnitt Breite (1) YY(1) ZZ(1) Breite (2) YY(2) ZZ(2) Allgemein
1 1 1 -5,5 -5 1 -5,5 +5 0
2 1 2 -5,5 +5 2 +5,5 +5 0
3 1 1 +5,5 +5 1 +5,5 -5 0
4 1 2 +5,5 -5 2 -5,5 -5 0

Vier weitere Querschnittsgeometrietypen sind in Abbildung 9 dargestellt. Die Linien stellen in allen Diagrammen eine Dicke dar.

(a) (b) (c) (d)
Abbildung 9: Weitere Querschnittsgeometrietypen

Querschnitt (a) erfordert drei Abschnitte, einen für jedes Rechteck. Das Rechteck auf der linken Seite muss mithilfe von fünf Indizes gezeichnet werden. Die rechte vertikale Linie muss in zwei Indizes unterteilt werden, damit diese so definiert werden können, dass mit den beiden anderen Abschnitten übereinstimmen. Da in beiden Abschnitten gemeinsame Indizes definiert werden müssen, erfordert dieser Querschnitt insgesamt dreizehn Indizes. Querschnitt (b) erfordert zwei Abschnitte. Jedes Rechteck muss so definiert werden, dass der mittlere Teil von beiden Abschnitten gemeinsam verwendet wird. Dieser Querschnitt erfordert acht Indizes. Querschnitt (c) erfordert drei Abschnitte. Da die zwei rechteckigen Rohrabschnitte geschlossene Abschnitte sind, müssen sie separat definiert werden. Es werden keine Indizes als von den Abschnitten gemeinsam genutzt definiert. Dieser Querschnitt erfordert neun Indizes. (Es ist nicht notwendig, die Seiten der beiden Rechtecke zu trennen, an denen das horizontale Teil verbunden ist.) Querschnitt (d) erfordert nur einen Abschnitt. Dieser Querschnitt erfordert drei Indizes.

Importieren allgemeiner Abschnittsdaten

Die Schaltfläche Importieren dient zum Importieren von Querschnittsdaten aus einer CSV-Datei. Die CSV-Datei muss 11 Datenspalten enthalten. Die Werte in diesen Spalten müssen von links nach rechts mit den Spaltenbeschriftungen in der Tabelle Koordinaten und Abmessungen des Abschnitts beginnend mit der Spalte Abschnitt übereinstimmen. Schließen Sie keine Spalte für die Spalte Index ein.

Tipp: Die Werte werden unter Verwendung der aktiven Anzeigeeinheiten in die kommagetrennte Datei importiert. Ändern Sie ggf. die Anzeigeeinheiten, bevor Sie die Daten importieren. Beispiel: Ein Wert von 3,14 wird als 3,14 Zoll importiert, wenn in den Anzeigeeinheiten Längenwerte in Zoll angegeben sind. Wenn die Anzeigeeinheiten Zentimeter sind, wird der Wert als 3,14 Zentimeter importiert.

Querschnittsbibliotheken

Um die Querschnittsbibliotheken verwenden zu können, wählen Sie in der Dropdown-Liste Abschnittstyp die Option Vordefiniert aus. Wählen Sie in der Tabelle Abschnittseigenschaften den Layer aus, für Sie Eigenschaften definieren möchten, und klicken Sie dann auf die Schaltfläche Querschnittsbibliotheken.

Verwenden von Querschnittsbibliotheken

Um die Querschnittsbibliotheken verwenden zu können, wählen Sie zuerst den Layer aus, für den Sie Querschnittseigenschaften definieren möchten. Klicken Sie dann nach Auswahl des Layers auf die Schaltfläche Querschnittsbibliotheken.

So wählen Sie einen Querschnitt aus einer vorhandenen Bibliothek aus

  • Wählen Sie die Bibliothek im Dropdown-Menü Abschnittsdatenbank: aus. Im Lieferumfang der Software werden mehrere Versionen von Querschnittsbibliotheken für Balken bereitgestellt. (Hinweis: Die Bibliotheken werden mit I YY (laut Definition im AISC-Handbuch) eingerichtet, entsprechend I2 in der Software).
  • Wählen Sie den Querschnittstyp im Pulldown-Menü Abschnittstyp aus. Die in den einzelnen AISC-Datenbanken verfügbaren Typenbezeichnungen sind in Tabelle 5 auf der Seite Querschnittsbibliotheken für Balken aufgeführt. Sie können auch anhand der Informationen aus Tabelle 2 auf derselben Seite die Formbezeichnungen aus Nicht-AISC-Bibliotheken den entsprechenden AISC-Schnitttypen zuordnen. Die Tabelle enthält nicht alle Querschnitttypen, da nicht alle Querschnitttypen aus den Nicht-AISC-Bibliotheken auch in den AISC-Bibliotheken enthalten sind.
  • Wählen Sie den Querschnittsnamen in der Liste Abschnittsname: aus. Sie können einen Namen suchen, indem Sie eine Zeichenfolge in das Feld oberhalb der Liste eingeben.
  • Überprüfen Sie die Werte im Bereich Querschnittseigenschaften des Dialogfelds. Wenn diese Ihren Anforderungen entsprechen, klicken Sie auf OK.
Anmerkung: Um den Balken als 3D-Volumenkörper in der Ergebnisanzeige zu visualisieren, muss der Querschnitt aus den Datenbanken AISC 2001, AISC 2005 oder AISC 14.1 (2013) oder unter den vordefinierten Formen im Dialogfeld Querschnittsbibliotheken ausgewählt werden.

Erstellen einer neuen Bibliothek und Hinzufügen von Querschnitten zu einer Bibliothek

Sie können eine vorinstallierte Bibliothek nicht ändern. Sie können jedoch benutzerdefinierte Bibliotheken erstellen und diesen benutzerdefinierte Querschnitte hinzufügen. Sie können eine Bibliothek auch von einem Computer auf einen anderen Computer kopieren und dort zum Programm hinzufügen. Das Verfahren zum Erstellen von benutzerdefinierten Bibliotheken und Querschnitten wird auf der Seite Erstellen benutzerdefinierter Querschnittsbibliotheken und Formeinträge erläutert.

So definieren Sie häufig verwendete Formen

Über das Pulldown-Menü in der oberen rechten Ecke des Dialogfelds Querschnittsbibliotheken können Sie eine Liste häufig verwendeter Querschnitte aufrufen, deren Bemaßungen Sie angeben können. Zu den enthaltenen Formen gehören:

  • Rundung
  • Rechteckig
  • Rechteckiger Rohrabschnitt
  • Breiter Flanschbalken
  • Rohrabschnitt
  • L-Typ (Winkel)

Geben Sie für alle diese Formen die gewünschten Abmessungen ein. Nach Auswahl der Form werden eine Skizze und Dateneingabefelder angezeigt.

So wählen Sie eine häufig verwendete Form und die Abmessungen aus

  1. Gehen Sie für das Balkenbauteil zum Dialogfeld Elementdefinition.
  2. Stellen Sie sicher, dass Abschnittstyp auf Vordefiniert festgelegt ist.
  3. Wählen Sie in der Tabelle Abschnittseigenschaften einen Layer (Zeile) aus, und klicken Sie auf die Schaltfläche Querschnittsbibliotheken.
  4. Wählen Sie im Pulldown-Menü Abschnittsdatenbank die Option Benutzerdefiniert aus.
  5. Wählen Sie die gewünschte häufig verwendete Form aus dem Pulldown-Menü in der oberen rechten Ecke des Dialogfelds.
  6. Geben Sie die entsprechenden Bemaßungen ein, die auf der rechten Seite des Dialogfelds angezeigt werden. Die Querschnittseigenschaften werden berechnet und angezeigt.
  7. Klicken Sie auf OK.
  8. Wiederholen Sie die Schritte 3 bis 7 für den nächsten Layer, oder klicken Sie auf OK, und schließen Sie das Dialogfeld Elementdefinition.

Sonstige Parameter für Balkenelemente

Bei Verwendung von Balkenelementen müssen Sie das Materialmodell für dieses Bauteil in der Dropdown-Liste Materialmodell angeben.

Die Methode der Spannungsaktualisierung wird verwendet, wenn das Materialmodell auf von Mises mit isotroper Verhärtung festgelegt wird. Diese Einstellung steuert den numerischen Algorithmus für die Integration der konstitutiven Gleichungen (Spannungs-/Dehnungsgesetz), wenn das Material plastisch wird. Als Aktualisierungsmethode für Spannung stehen die folgenden Optionen zur Verfügung:

Der Wert für Parameter für allgemeinen Mittenpunkt wird verwendet, wenn für die Aktualisierungsmethode für Spannung die Option Allgemeiner Mittenpunkt ausgewählt wird. Der gültige Bereich für diesen Wert liegt zwischen 0 und 1 (einschließlich). Wenn für den Parameter 0 festgelegt wird, ist der resultierende Algorithmus ein vollständig explizites Mitglied der Algorithmus-Familie (ähnlich der Option Explizit für Aktualisierungsmethode für Spannung); die Lösung ist jedoch nicht uneingeschränkt stabil. Wenn der Parameter 0.5 oder größer ist, ist die Methode uneingeschränkt stabil. Wenn für den Parameter 0.5 festgelegt wurde, ist die Lösung ein Mittelpunkt-Algorithmus; wenn der Wert 1 ist, wird die Lösung als vollständiger Backward-Euler-Algorithmus oder Nächster-Punkt-Algorithmus bezeichnet und ist vollständig implizit. Ein Wert von 1 ist genauer als andere Werte, insbesondere bei großen Zeitschritten.

Verwenden Sie die Dropdown-Liste Analyseart, um den erwarteten Verschiebungstyp festzulegen. Kleine Verschiebung eignet sich für Bauteile, bei denen keine Bewegungen und nur kleine Dehnungen auftreten, und ignoriert alle geometrischen Effekte, die sich aus großen Verschiebungen ergeben. (Außerdem wird für Analysebeschreibung auf der Registerkarte Erweitert die Option Nur Material-Nichtlinear festgelegt). Große Verschiebungen eignet sich für Bauteile, die keine Bewegung und/oder große Dehnungen aufweisen. (Die Analysebeschreibung auf der Registerkarte Erweiterte Einstellungen sollte ebenfalls der Analyse entsprechend festgelegt werden.)

Tipp: Legen Sie auf der Registerkarte Optionen Analyse die Option Große Verschiebungen als Standard in nichtlinearen Analysen fest, um zu steuern, ob die Analyseart die Vorgabeeinstellungen für kleine oder große Verschiebungen übernimmt.

Wenn Sie das temperaturabhängig-isotrope Materialmodell oder jenes mit temperaturabhängiger Plastizität verwenden, müssen Sie einen Wert in das Feld Spannungsfreie Referenztemperatur auf der Registerkarte Thermisch eingeben. Die thermische Spannung wird basierend auf der Differenz zwischen der Knotentemperatur und diesem Wert erstellt.

Erweiterte Parameter für Balkenelemente

Wählen Sie in der Dropdown-Liste Analysebeschreibung auf der Registerkarte Erweitert die Formulierungsmethode aus, die Sie für die Balkenelemente verwenden möchten.

Wählen Sie danach die Integrationgrade für jede Balkenelementachse in den Dropdown-Feldern Integrationgrad 1, Integrationgrad 2 und Integrationgrad 3 aus. Die Option in der Dropdown-Liste 1. Integrationsreihenfolge wird für die Formulierung der Gaußschen Quadratur in der Hauptachse verwendet (Achse 1 entlang der Länge des Elements). Die Option in der Dropdown-Liste2. Integrationsreihenfolge wird für die Formulierung der Gaußschen Quadratur in der sekundären Achse (Achse 2) verwendet. Die Option in der Dropdown-Liste3. Integrationsreihenfolge wird für die Formulierung der Gaußschen Quadratur in der tertiären Achse (Achse 3) verwendet. Je höher die Integrationsreihenfolge umso höher die Genauigkeit, gleichzeitig verlängert sich jedoch die Analysedauer.

Achtung: Integrationsreihenfolgen unter 3 liefern in der Regel keine genauen Ergebnisse. Sie sind nur für Situationen verfügbar, in denen eine schnellere Ausführung möglich (nicht garantiert) ist und Genauigkeit keine Rolle spielt.

Große Festkörperdrehung: Wenn eines der Elemente des Bauteils zu einem beliebigen Zeitpunkt der Analyse einer großen Festkörperdrehung unterliegt, aktivieren Sie die Option Große Festkörperdrehung. Wenn diese Option aktiviert ist, wird bei jeder Wiederholung die Rotationsmatrix gespeichert, wodurch genauere Spannungsergebnisse erzeugt werden. Wenn die Option nicht aktiviert ist und das Bauteil einer Festkörperrotation unterliegt, kann die Spannung zunehmen, anstatt konstant zu bleiben, was zu einem gewissen Grad an Ungenauigkeit führt. Wenn Balkenelemente in dem Bauteil einer großen Verformung ausgesetzt sind, muss diese Option nicht aktiviert werden, unabhängig von der Rotation (siehe Tipp weiter unten).

Wie bei allen Analysen mit nichtlinearer großer Verformungen oder großer Verschiebung sind die Ergebnisse umso genauer, je mehr Schritte die Analyse aufweist. In einigen Fällen kann es notwendig sein, die Abtastrate so einzustellen, dass 100 Berechnungsschritte pro 90-Grad-Drehung des Balkenbauteils bzw. etwa 1 Schritt pro Grad erfolgen.

Tipp: Die Option Große Festkörperrotation gibt außerdem präzisere Rotationsdaten für die Visualisierung in der Ergebnisanzeige aus. Wenn die lokalen Achsen 2 und 3 oder die Balkenvisualisierung angezeigt werden sollen, sollten Sie vor dem Ausführen der Analyse diese Option aktivieren.

Weitere Ausgabe: Für Balkenelemente können vier Ergebnistypausgaben erzeugt werden. Weiter unten wird angegeben, ob die weitere Ausgabe in einem Textformat (zur Anzeige in Windows Editor, Word oder einem anderen Texteditor) oder Binärformat (für die Ergebnisanzeige) erfolgt. Die Formate der Textausgabedateien werden auf der folgenden Seite beschrieben (Textergebnisse für Balkenelemente).

Grundlegende Schritte zur Verwendung von Balkenelementen

  1. Stellen Sie sicher, dass ein Einheitensystem definiert ist.
  2. Stellen Sie sicher, dass das Modell einen nichtlinearen Analysetyp verwendet.
  3. Klicken Sie mit der rechten Maustaste auf die Überschrift Elementtyp für das Bauteil, das Sie als Balkenelement definieren möchten.
  4. Wählen Sie den Befehl Balken aus.
  5. Klicken Sie mit der rechten Maustaste auf die Überschrift Elementdefinition.
  6. Wählen Sie den Befehl Elementdefinition bearbeiten.
  7. Wählen Sie auf der Registerkarte Allgemein in der Dropdown-Liste Materialmodell das geeignete Materialmodell für dieses Bauteil und in der Dropdown-Liste Abschnittstyp die Form des Querschnitts aus.
  8. Wenn Sie die Option Vordefiniert in der Dropdown-Liste Abschnittstyp ausgewählt haben, wählen Sie den zu definierenden Layer in der Tabelle Abschnittseigenschaften aus, und klicken Sie auf die Schaltfläche Querschnittsbibliotheken. Wählen Sie den Querschnitt aus, oder geben Sie diesen ein.
    • Wenn Sie stattdessen die Option Allgemein ausgewählt haben, definieren Sie den Querschnitt in der angezeigten Tabelle.

    (Weitere Informationen finden Sie oben im Thema Angeben von Querschnittseigenschaften für Balkenelemente.)

  9. Klicken Sie auf OK.