新しい繊維、母材、コア、単層の材料や新しい積層を作成する、または厚さ/角度テンプレートを作成するためのツールにアクセスします。
Helius Composite のインタフェース上部にあるドロップダウン メニューの 2 番目の項目は、[新しい項目]メニューです。[新しい項目]メニューで使用可能なオプションについて以下に説明します。
- 新しい繊維
- 新しい繊維を作成します。このオプションを選択すると、[新しい繊維]ウィンドウが開きます。ここで新しい繊維材料の名前を指定し、その特性を定義します。[保存]をクリックすると、新しい繊維材料が材料データベースに追加されます。新しい繊維材料を材料データベースに保存せずに破棄するには、[閉じる]をクリックします。
- 新しい母材
- 新しい母材を作成します。このオプションを選択すると、[新しい母材]ウィンドウが開きます。ここで新しい母材材料の名前を指定し、その特性を定義します。[保存]をクリックすると、新しい母材材料が材料データベースに追加されます。新しい母材材料を材料データベースに保存せずに破棄するには、[閉じる]をクリックします。
- 新しい単層
- 新しい単層を作成します。このオプションを選択すると、[新しい単層]ウィンドウが開きます。ここで新しい単層材料の名前を指定し、その特性を定義します。[保存]をクリックすると、新しい単層材料が Helius Composite の材料データベースに追加されます。新しい単層材料を材料データベースに保存せずに破棄するには、[閉じる]をクリックします。
- マイクロメカニックスからの新しい単層
- 新しい単層材料の特性や強度がわからない場合は、新しい単層材料を作成します。このオプションを選択すると、Helius Composite は選択した繊維材料と母材材料の特性から新しい単層材料の特性を計算するためにマイクロメカニックスを使用します。このオプションを選択すると 2 つのタブを持つ[単層特性を計算]ウィンドウが表示されます。最初の(既定の)タブは[計算機]タブです。このタブでは繊維と母材の材料の指定とともに、繊維の体積分率と母材の体積分率を指定することができます。[計算]ボタンをクリックすると Helius Composite のマイクロメカニックス モジュールが起動し、新しい単層の材料特性と強度が計算されます。これにより、新しい単層のために計算された特性が[結果]タブに表示されます。新しい単層を材料データベースに追加するには、[結果]タブで[保存]ボタンをクリックします。または、[計算機]タブに戻って単層を構成する材料や繊維の体積分率を変更し、新しい単層の特性を再計算することもできます。新しい単層材料を材料データベースに保存せずに破棄するには、[単層特性を計算]ウィンドウで[保存]をクリックせずに、単に[閉じる]をクリックします。
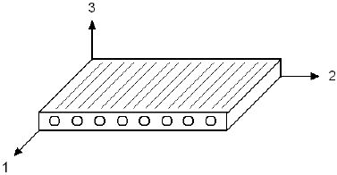
- マイクロメカニックスは、単層の繊維、母材、繊維体積分率に基づいて単層の機械特性を計算するための理論です。単層の主要材料座標系を下図に示します。繊維は連続的であり、「1」の方向に平行であると仮定されます。繊維は主に単層の「1」方向の高強度と剛性に対して関与します。母材材料(または樹脂)は繊維間の弾性支持を提供し、強化繊維の集合体に対して安定性を与えます。母材は主に単層の「2」と「3」方向(繊維に対して垂直方法)の剛性と強度に関与し、主要 3 平面におけるせん断剛性と強度にも関与します。
- 樹脂母材の複合材料のために開発された Helius Composite のマイクロメカニックス モジュールは、Quasi-3D マイクロメカニックス有限要素モデルを使用して、単層の弾性特性を計算します。有限要素モデルは、母材材料に分布する繊維に対し、一方向の六角形配列を仮定します。マイクロメカニックス モジュールは、さまざまな変形の基本モードにおけるひずみと破損に対し、さまざまな種類の閉じたフォームの計算式を使って単層の強度を計算します。
- 有限要素マイクロメカニックス モジュールは、繊維体積分率が 30% 未満の場合には使用できません。その場合は、既知の閉じたフォームの代数学的解法を使って弾性定数を計算します。
新しい積層材料を作成するための詳細な説明は、それぞれの解説ページを参照してください(「新しい繊維、母材、コア、単層を作成する」および「マイクロメカニックスで新しい積層特性を計算する」)。
- 新しい金属
- 新しい金属を作成します。このオプションを選択すると、[新しい金属]ウィンドウが開きます。ここで新しい金属の名前を指定し、その特性を定義します。[保存]をクリックすると、新しい金属材料が材料データベースに追加されます。新しい金属材料を材料データベースに保存せずに破棄するには、[閉じる]をクリックします。
- 新しいコア
- 新しいコアを作成します。このオプションを選択すると、[新しいコア]ウィンドウが開きます。ここで新しいコア材料の名前を指定し、その特性を定義します。[保存]をクリックすると、新しいコア材料が材料データベースに追加されます。新しいコア材料を材料データベースに保存せずに破棄するには、[閉じる]をクリックします。
- 新しい厚さ/角度テンプレート
-
新しい厚さ/角度テンプレートを作成します。厚さ/角度テンプレートは積層形状のすべてを定義するデータの集合ですが、それらに対して特定の材料はまだ割り当てられていません。形状データには積層の層数、各層の厚さ、各層の繊維配向が定義されます。新しい積層を作成する際に厚さ/角度テンプレートを使用すると、必要な形状情報のすべてを即座に入力することができます。したがって、頻繁に使用することが予想される特定の積層形状がある場合は、それらを厚さ/角度テンプレートに保存しておくと、すぐに使用することができます。新しい厚さ/角度テンプレートを作成する手順の詳細は、「新しい厚さ/角度のテンプレートを作成する」のセクションを参照してください。
- 新しい積層
- 新しい積層を作成します。このオプションを選択すると、[新しい積層]ウィンドウが開きます。ここで新しい積層の名前と形状を指定し、積層のそれぞれの材料層に使用する材料を指定します。このオプションの使い方の詳細は、「新しい積層を作成する」のセクションを参照してください。
新しい積層を作成する手順の詳細は、「新しい積層を作成する」のセクションを参照してください。
積層座標系(左)および円筒積層チューブ座標系(右)