슬래브 및 지붕 슬래브는 모서리 조건이 지정되어야 하는 모형 바닥판, 지붕 면 및 기타 평평한 표면에 사용하는 AutoCAD Architecture 객체입니다. 슬래브 또는 지붕 슬래브 객체는 쉐이프의 평면 폴리곤(둘레)을 경계로 하며 여러 개의 모서리가 있는 3D 본체입니다. 객체는 둘레, 모서리 조건 및 스타일로 정의됩니다. 슬래브 및 지붕 슬래브는 동일한 특성을 많이 공유하지만 별개의 스타일 범주와 도구 유형을 나타냅니다. 예를 들어, 슬래브 도구의 특성을 기존 지붕 슬래브 객체에 적용할 수 없습니다.
지붕 슬래브는 지붕의 단일면을 모형화합니다. 또한 지붕 슬래브 객체는 각 지붕 슬래브가 다른 도면요소와 직접적인 연결이 없는 별도의 도면요소라는 점에서 지붕 객체와 다릅니다. 여러 개의 지붕 슬래브를 사용하여 전체 지붕 표면을 모델링하는 경우 보다 융통성 있게 지붕을 편집할 수 있지만 지붕의 결합된 토폴로지(3D 형상)가 자동으로 계산되지 않습니다. 따라서 복잡한 지붕을 설계할 때는 지붕 객체에서 시작하는 것이 좋습니다. 그런 후 설계가 실제로 완료되었을 때 보다 융통성 있게 모서리 및 기타 상세를 사용자화할 수 있도록 지붕을 개별 지붕 슬래브로 변환할 수 있습니다.
지붕 슬래브가 서로 동적으로 상호 작용하지 않는 반면에 지붕 형상을 효과적으로 조정할 수 있습니다. 예를 들어, 개별 지붕 슬래브를 자르고 확장한 후 다른 지붕 슬래브와 연귀이음할 수 있습니다. 지붕 슬래브에 구멍을 내어 매스 요소를 추가하거나 뺄 수 있고 상세한 페이셔 및 밑면 프로파일을 모든 각도 및 방향에 적용할 수도 있습니다. 지붕 슬래브는 슬래브와 마찬가지로 스타일 기반이므로 설계 변경 사항을 전체적으로 적용할 수 있습니다.
슬래브 및 지붕 슬래브 도구를 사용하여 슬래브 및 지붕 슬래브를 독립적으로 작성하거나 벽 및 폴리선과 같은 기존 객체에서 작성할 수 있습니다. 다른 객체에서 작성한 슬래브 및 지붕 슬래브는 원래 객체에 대한 링크를 유지하지 않습니다.
물매를 싼 지붕은 보통 플레이트 선 및 물매 각도를 지정하여 설계됩니다. 지붕 슬래브는 배치될 때에도 같은 방법을 사용할 수 있도록 설계되었습니다. 지붕 슬래브를 추가하려면 두 점과 각도만 지정하면 됩니다.
능선, 추녀 마루 및 골선이 표시된 2D 평면도에서 작성된 기존 지붕을 설계한 경우 지붕 슬래브를 가진 평면도를 추적하여 원하는 높이 및 물매를 지정할 수 있습니다. 이런 값과 지정된 점을 사용하여 정확한 3D 모형을 작성할 수 있습니다.
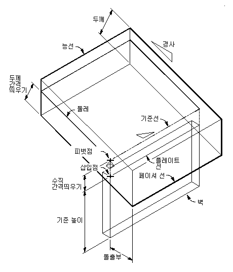
슬래브 또는 지붕 슬래브의 본체는 다음 형상으로 정의된 둘레의 평면에 수직으로 돌출된 부분입니다.

지붕 슬래브 형상
다음 매개변수는 슬래브 또는 지붕 슬래브 모서리를 정의합니다.
모서리 조건을 정의하는 스타일의 슬래브 또는 지붕 슬래브 모서리에 페이셔 및 밑면을 적용합니다.

페이셔 및 밑면 구성요소가 있는 지붕 슬래브
각 슬래브 또는 지붕 슬래브 모서리를 사용자화하여 설계에 필요한 대로 스타일을 적용하고 기타 조정할 수 있습니다. 슬래브 또는 지붕 슬래브 모서리 스타일은 구성요소에 대해 작성한 프로파일에서 페이셔 및 밑면 설계를 정의합니다. 스타일에 페이셔, 밑면 또는 모두 사용하거나 모두 사용하지 않도록 지정할 수 있습니다. 페이셔와 밑면을 슬래브 또는 지붕 슬래브에 상대적으로 배치하는 방법을 지정할 수도 있습니다.
슬래브 및 지붕 슬래브는 자체의 고유한 스타일 범주를 가지며, 여기서 각 스타일은 특정 유형의 슬래브 또는 지붕 슬래브에 대한 기본 특성을 지정합니다. 이러한 특성에는 치수, 페이셔 및 밑면의 모서리 스타일, 도면층, 색상 및 선종류에 대한 도면요소 특성이 포함됩니다. 슬래브 및 지붕 슬래브 스타일을 통해 각 모서리에 다른 모서리 스타일을 사용할 수 있습니다.
슬래브 또는 지붕 슬래브에 재료를 지정할 수 있습니다. 예를 들어, 바닥판 슬래브에는 콘크리트 모서리를 가진 타일을 표시하는 재료가 지정될 수 있습니다. 그런 다음, 해당 재료가 와이어프레임이나 렌더된 보기에 표시됩니다. 재료에는 본체, 페이셔 및 밑면과 같은 슬래브 또는 지붕 슬래브의 개별 구성요소에 대한 특정 설정이 있습니다.

여러 뷰에서의 슬래브 모양
AutoCAD Architecture는 공통 설계를 위해 미리 정의된 재료를 제공합니다. 이러한 재료에는 제공된 대로 사용하거나 특수 설계를 위해 수정할 수 있는 슬래브 또는 지붕 슬래브 설정이 있습니다. 또한 처음부터 재료를 작성할 수 있습니다. 재료를 작성하여 슬래브용으로만 사용할 경우 적절하게 이름을 지정합니다(예: 슬래브-세라믹 타일 또는 슬래브 모서리-콘크리트). 이렇게 하면 재료 정의를 구성하는 데 도움이 됩니다.
슬래브 또는 지붕 슬래브 스타일 및 모서리 스타일에서 제공하는 컨트롤 외에도 AutoCAD Architecture에는 슬래브 및 지붕 슬래브를 고유한 조건에 맞게 편집할 수 있는 다양한 도구가 있습니다. 예를 들어, 구조에서 슬래브에 굴뚝 및 통풍구 파이프와 같은 구멍을 추가할 수 있습니다. 또한 지붕 슬래브를 사용하여 지붕창을 작성할 수 있습니다.