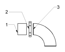
AutoCAD MEP 2026 toolset determines the connectors on a pipe fitting or segment and adds the appropriate joints as specified in the pipe part routing preferences. The number of joints that the software adds depends on the connection type. The illustration shows a pipe segment and fittings. The software determines the number of joints, as follows:

- #1 refers to a pipe segment with an undefined connection type.
- #2 refers to a grooved coupling with female connectors.
- #3 refers to an elbow fitting with male connectors and undefined connection types.
The pipe segment (#1) inherits the connection type from the female grooved coupling (#2). The connector on the elbow fitting (#3) inherits the connection type from the female grooved coupling (#2), as specified in the routing preferences.